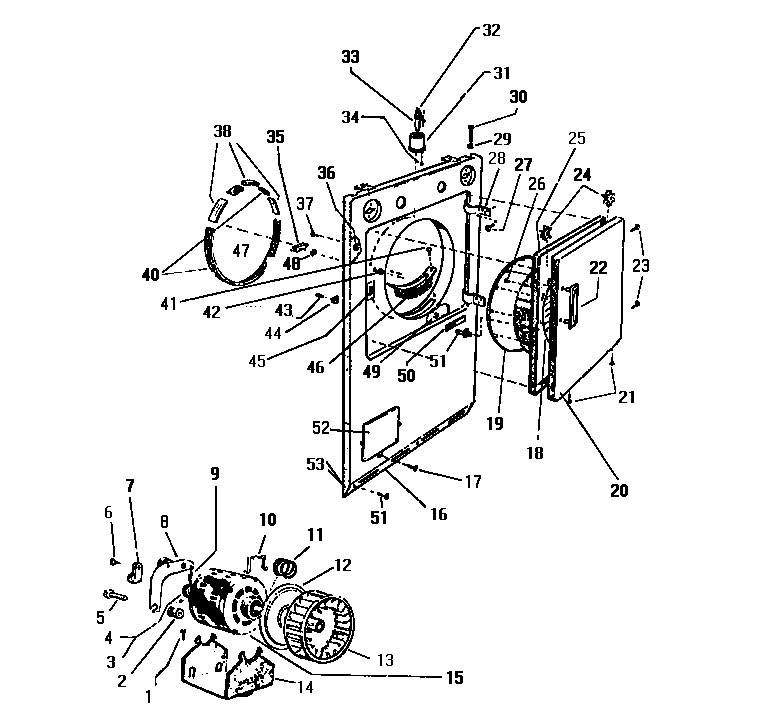
DE150EDV1 04 – FRONT PANEL, DOOR, MOTOR