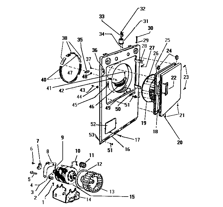
DE150EDW1 04 – FRONT PANEL, DOOR, MOTORadmin2025-04-26T08:54:18+00:00DE150EDW1 04 – FRONT PANEL, DOOR, MOTOR ProductsPositionProduct*22931WCI Q151411SCREW2WCI Q6001793SCREW4WCI Q6001965WCI Q4334016WCI Q4140027CLAMP8IDLER PULLEY AND BRACKET9SPRING10WCI Q6220611WCI Q9471512WCI Q9494813WCI Q61590114WCI Q9487415BMOTOR REPLACEMENT (EMER. P/N Q616391) SEE NOTE 115ESTART SWITCH FOR Q616391 EMER.15CSTART SWITCH FOR Q616401 GE15DSTART SWITCH FOR Q615921 WW16WCI Q17334218SHIELD19WCI Q16770320WCI Q12567022WCI Q15132623WCI Q41100424WCI Q4012025WCI Q12573026WCI Q50395227WCI Q50043328WCI Q9465129WCI Q50015530WCI Q5502131WCI Q18267132WCI Q12848133DOUBLE CONTACT BAYONET BASE 15W, 115/125V, CLEAR (BULB T34SCREW (4)35START SWITCH37WCI Q50556438GUIDE KIT40WCI Q14288841WCI Q40580242WCI Q50145043WCI Q50248244WCI 146631445WCI Q50455146WCI Q16854147WCI Q1514248WCI Q40900449WCI Q50025550WCI Q60444251WCI Q50455252ACCESS DOOR, WHITE53WCI Q501687