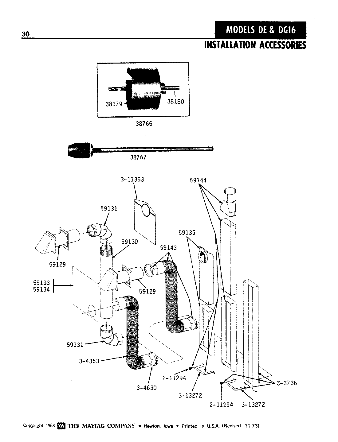
DE16CA 07 – INSTALLATION ACCESSORIESadmin2025-04-26T08:56:38+00:00DE16CA 07 – INSTALLATION ACCESSORIES ProductsPositionProduct1MAY 0381792MAY 0381803MAY 0387664MAY 03876754396007RW Whirlpool Dryer Vent Hood6MAY Y0591307MAY Y0591318MAY 0591339MAY Y05913410MAY Y05913511MAY Y05914312MAY 05914413WP90767 Whirlpool Screw14MAY 30373615MAY Y30435316MAY Y30463017MAY 31135318MAY 313272