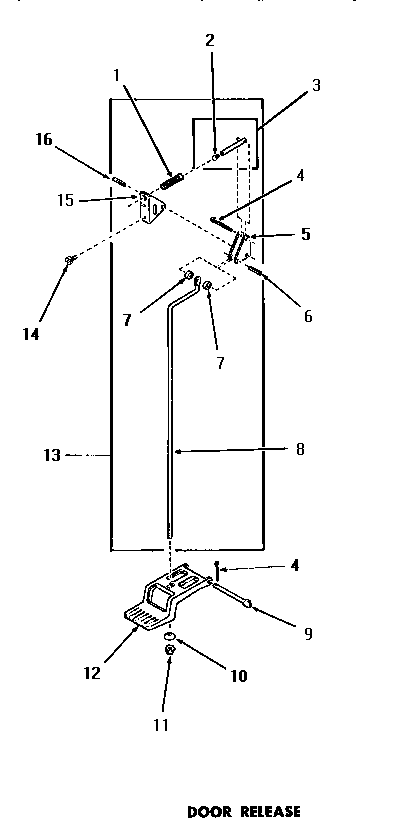
DE3010 08 – DOOR RELEASEadmin2025-04-26T09:32:01+00:00DE3010 08 – DOOR RELEASE ProductsPositionProduct1MAY 510652MAY 517863MAY 518414MAY 025785MAY 510417MAY 511218MAY 518379MAY 5104510MAY 5104611MAY 5127112MAY 5180213MAY 5184414MAY 5124615MAY 5105216MAY 51161