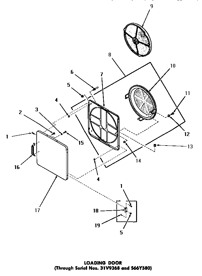
DE3010 14 – LOADING DOORadmin2025-04-26T09:33:30+00:00DE3010 14 – LOADING DOOR ProductsPositionProduct1MAY 528642MAY 521503MAY Y202784MAY 528655MAY 512366MAY 519927MAY 547308MAY 547389MAY 5300210MAY 5473111MAY 2468812MAY Q627513MAY 5185814MAY 5256615MAY 2202416MAY 5406817MAY 52489W17MAY 52489H17MAY 52489C17MAY 52489A18MAY 7001419MAY 22649