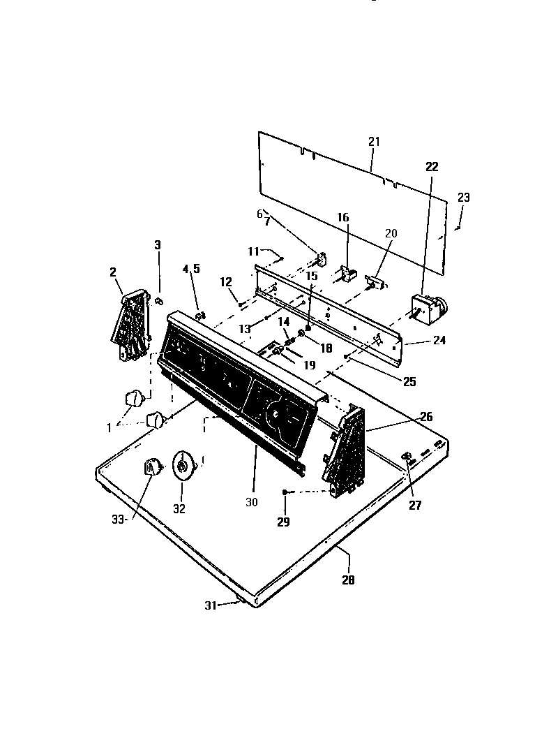
DE600EDH1 02 – CONSOLE, CONTROLS, TOP PANELadmin2025-04-26T08:52:40+00:00DE600EDH1 02 – CONSOLE, CONTROLS, TOP PANEL ProductsPositionProduct2WCI Q6167313SPEEDNUT (8)4WCI Q5048016WCI Q61763212SCREW13SCREW (4)14WCI Q6679315WCI Q40900416WCI Q15291318WCI Q50145019WCI Q62123120START SWITCH21WCI Q61674122WCI Q16866723SCREW (4)24WCI Q61671125SCREW (4)26WCI Q61673227WCI Q50306528WCI Q62124829WCI Q50453330WCI Q61691131SPRING CATCH32WCI Q61764133KNOB TIMER