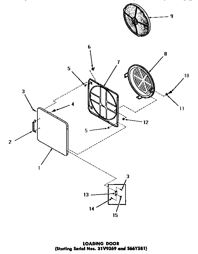
DE6050 16 – LOADING DOORadmin2025-04-26T09:32:39+00:00DE6050 16 – LOADING DOOR ProductsPositionProduct1MAY 52489H1MAY 52489W1MAY 52489A1MAY 52489C2MAY 540683MAY 528644MAY 521505MAY 528656MAY 546617MAY 546658MAY 547319MAY 5300210MAY 2468811MAY Q627512MAY 5256613MAY 7001414MAY 2264915MAY 51236