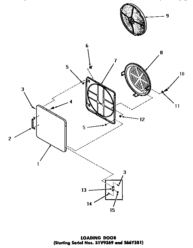
DE6051 16 – LOADING DOOR