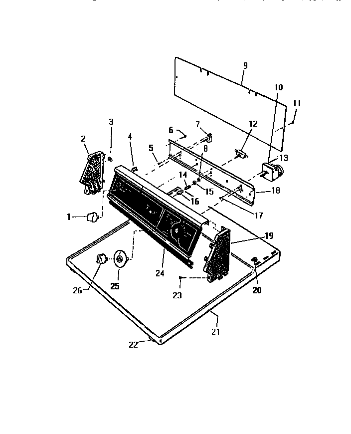
DE650EDH5 02 – CONSOLE & CONTROLSadmin2025-04-26T08:52:57+00:00DE650EDH5 02 – CONSOLE & CONTROLS ProductsPositionProduct2WCI Q6167313SPEEDNUT (8)4WCI Q5048035SCREW6SCREW (4)7SWITCH, SELEC.8WCI Q4090049WCI Q61674110WCI Q63011311SCREW (4)12START SWITCH13WCI Q19818914WCI Q6679315WCI Q50145016WCI Q62123117SCREW (4)18WCI Q61671119WCI Q61673220WCI Q50306521WCI Q62124822SPRING CATCH23WCI Q50453324WCI Q63118125WCI Q61764126KNOB TIMER