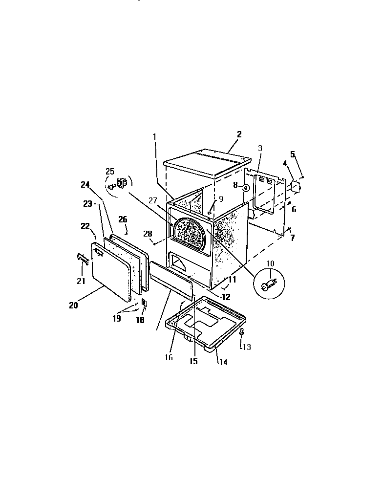
DEA500A2W 03 – CABINET