| *41854 | WCI 139709-000 |
| *41852 | WCI F139719-100 |
| *41855 | WCI 139991-000 |
| *41853 | WCI 139962-000 |
| *41876 | 5303321319 Frigidaire Refrigerator White Touch Up Paint |
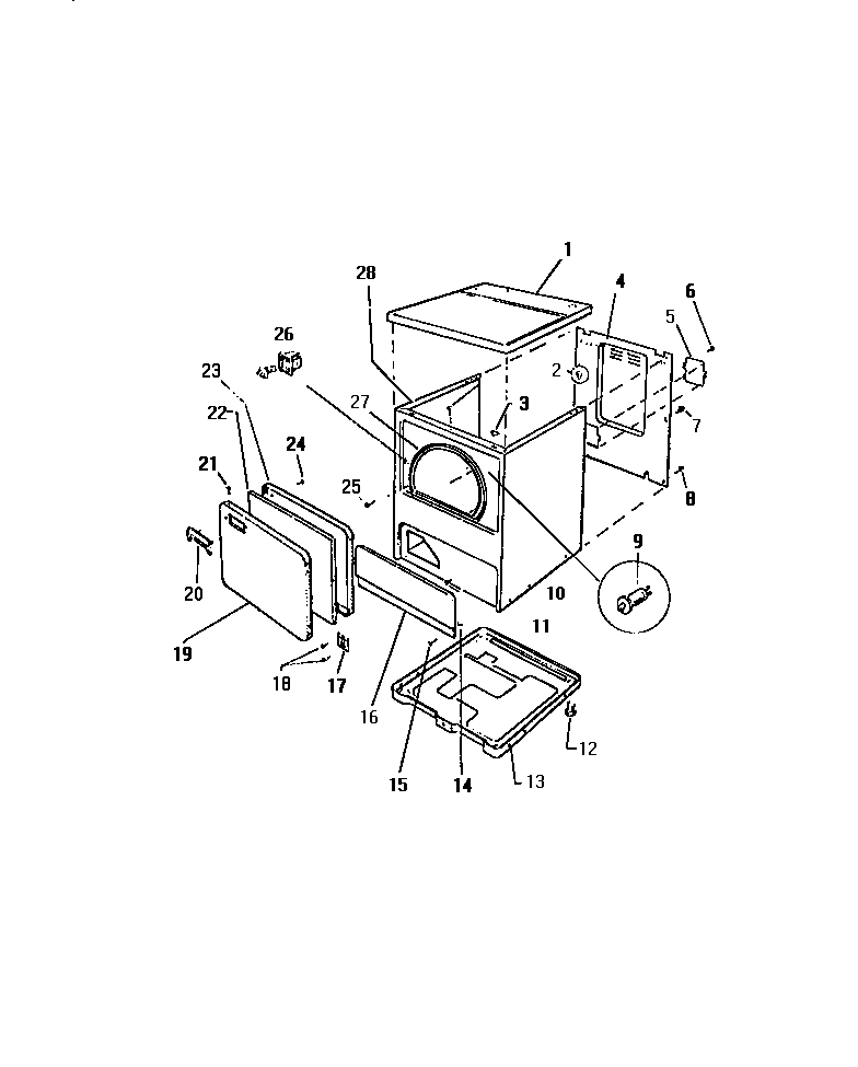
| 1 | TOP PANEL, WHITE |
| 2 | WCI F001345-000 |
| 3 | WCI F130448-000 |
| 4 | WCI F139218-526 |
| 5 | ACCESS PLATE TERM. BLOCK |
| 6 | 5303015671 Frigidaire Bracket Termination Screw |
| 9 | DOOR SWITCH |
| 10 | 131205500 Frigidaire Screw |
| 11 | SCREW (6) |
| 12 | WCI F137033-000 |
| 13 | WCI F140281-026 |
| 14A | SPEED NUT, ELECTRIC MODELS (2) |
| 16 | ACCESS PANEL, WHITE |
| 17 | WCI F078319-000 |
| 19 | OUTER DOOR PANEL, WHITE |
| 20 | WCI F078673-200 |
| 21 | SCREW (3) |
| 22 | WCI F132413-000 |
| 23 | WCI F137873-028 |
| 24 | WCI F136470-000 |
| 25 | 216858001 Frigidaire Refrigerator Screw |
| 26 | 5366021400 Frigidaire Door Latch & Metal Strike |
| 27 | WCI F133271-000 |
| 28 | WCI F134920-332 |