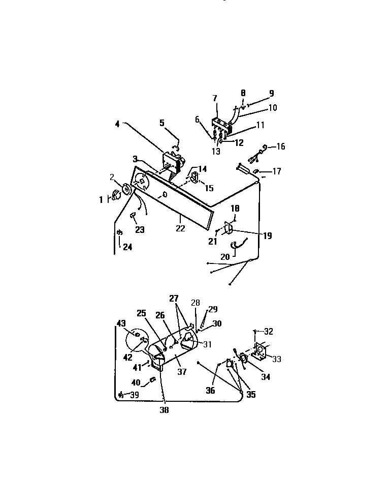
DEC310A1D 05 – CONSOLE, CONTROLS, HEAT ASSY.admin2025-04-26T09:58:02+00:00DEC310A1D 05 – CONSOLE, CONTROLS, HEAT ASSY. ProductsPositionProduct*62295WCI F079459-026*62294WCI F138738-000*62299WCI F139540-000*62298WCI F140917-000*62300CLIP HARNESS TO RH CAB (2)*62293WCI FA27511KNOB-TIMER2WCI F140767-0003WCI F607964WCI F140788-0009134154100 Frigidaire Screw 10-32 x 0.375 Co12WCI F7334014WCI F00013750515PUSH TO START SWITCH16WCI F078231-00018WCI FA275819WCI F13324220WCI F13915221WCI F13502222WCI F140554-00023DOOR SWITCH24CLIP, HARNESS TO RH SIDE PANEL (3)25WCI F132264-00026WCI F132267275303015671 Frigidaire Bracket Termination Screw28INSULATOR, FEMALE (2)29NUT (2)30WASHER (2)31INSULATOR, MALE (2)32WCI F13043933BRACKET35WCI F078985-00036WCI F13022000037WCI F130228-238WCI F134266-00039CLIP, HARNESS40WCI F7709442WCI F13173443WCI F131735