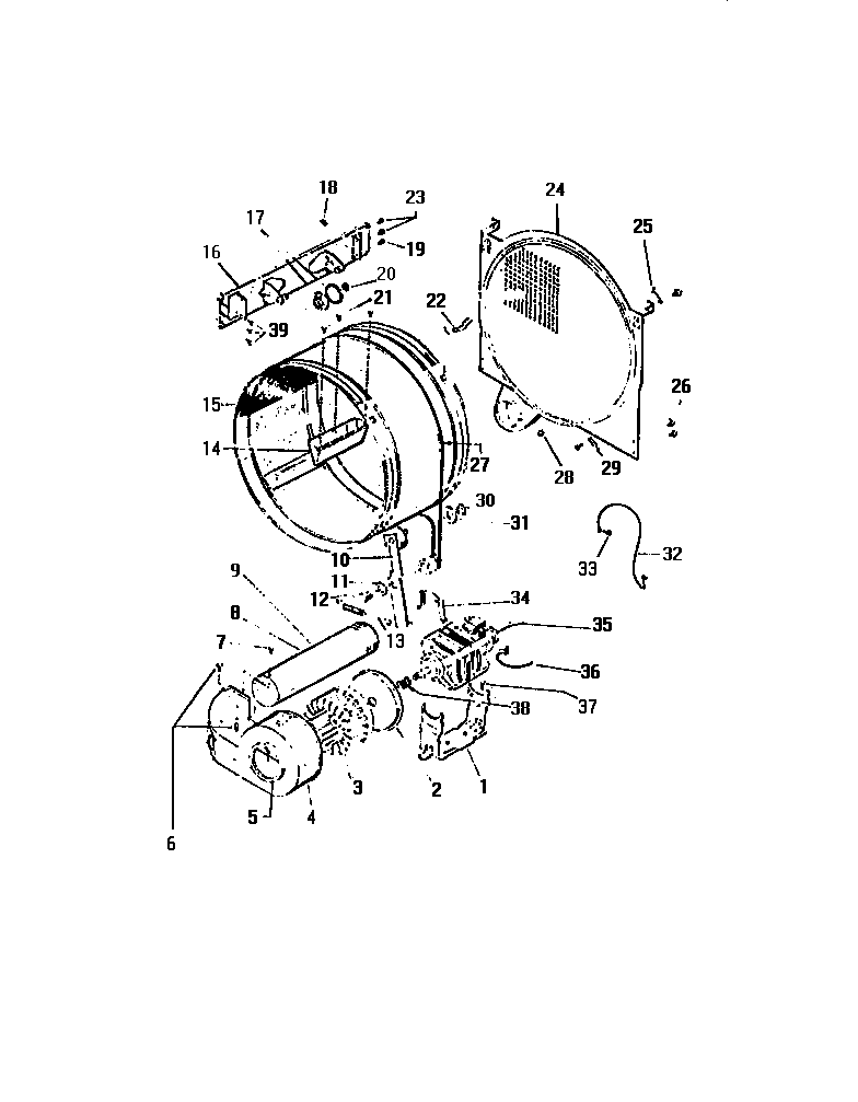
DEC310T0D 05 – DRUM, MOTORadmin2025-04-26T09:58:30+00:00DEC310T0D 05 – DRUM, MOTOR ProductsPositionProduct1WCI F781902WCI F643543WCI F768294WCI F781815WCI F769619WCI F784259AEXHAUST PIPE, SIDE10WCI F7949911WCI F7682212WCI F7948513WCI F13039614WCI F7818815AWCI F7943615WCI F7818316WCI F78185-117WCI F13300618WCI FA275120WCI F7697822WCI F13173624WCI F7884127WCI F7844828WCI F13116829WCI F13035430F073088-000 Frigidaire Ring315360792000 Frigidaire Washer32WCI F13214533SCREW34WCI FA261835WCI F133072-135AWCI F67634-2365304464772 Frigidaire Refrigerator Wire Tie37WCI F13391138WCI F64360395303015671 Frigidaire Bracket Termination Screw