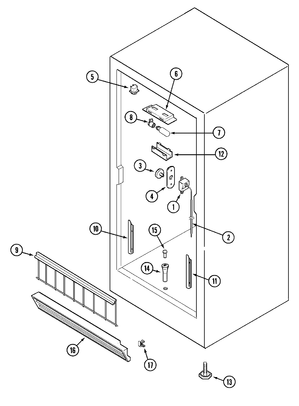
DF15J 02 – FREEZER COMPARTMENTadmin2025-04-26T09:42:26+00:00DF15J 02 – FREEZER COMPARTMENT ProductsPositionProduct1MAY 680010651MAY 680011022WP2196003 Whirlpool Refrigerator Bar Riser3MAY 680010634MAY 680010644MAY 680011925MAY 680010616MAY Y048551017MAY 680010628MAY Y045537019MAY Y049446029MAY 68001092104-80576-202 Whirlpool Refrigerator Gate Support11MAY 6800105411MAY 65587-112MAY Y0485520113W11117769 Whirlpool Refrigerator Leveler14MAY 6800112815MAY 6800110316MAY 6800119417MAY Y04637304171-80247-101 Whirlpool Refrigerator Clip