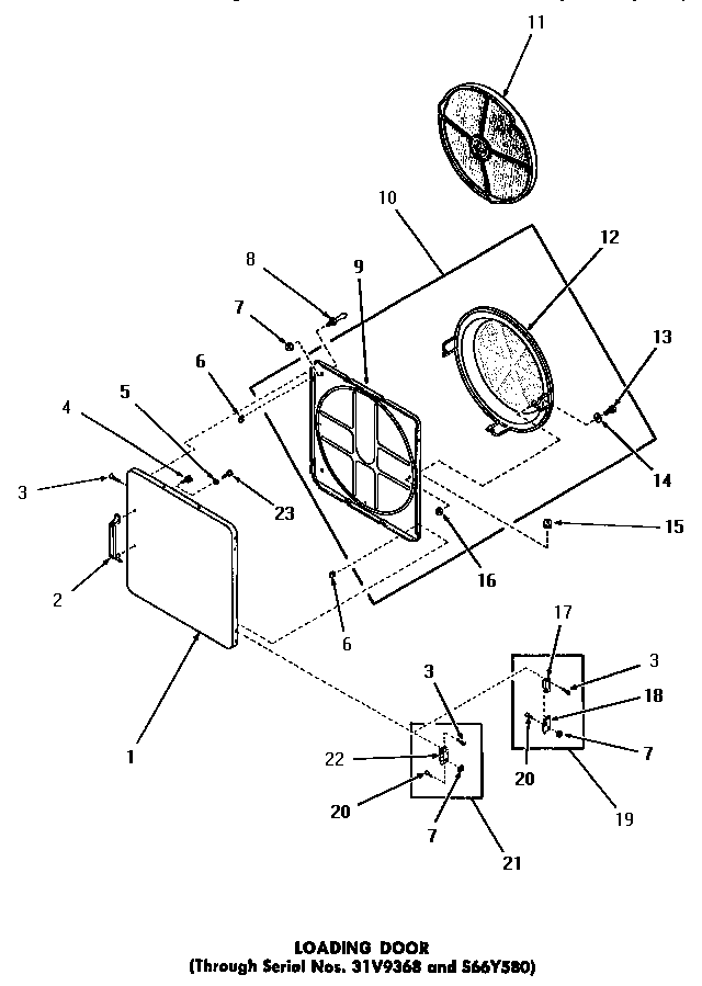
DG1031 16 – LOADING DOOR