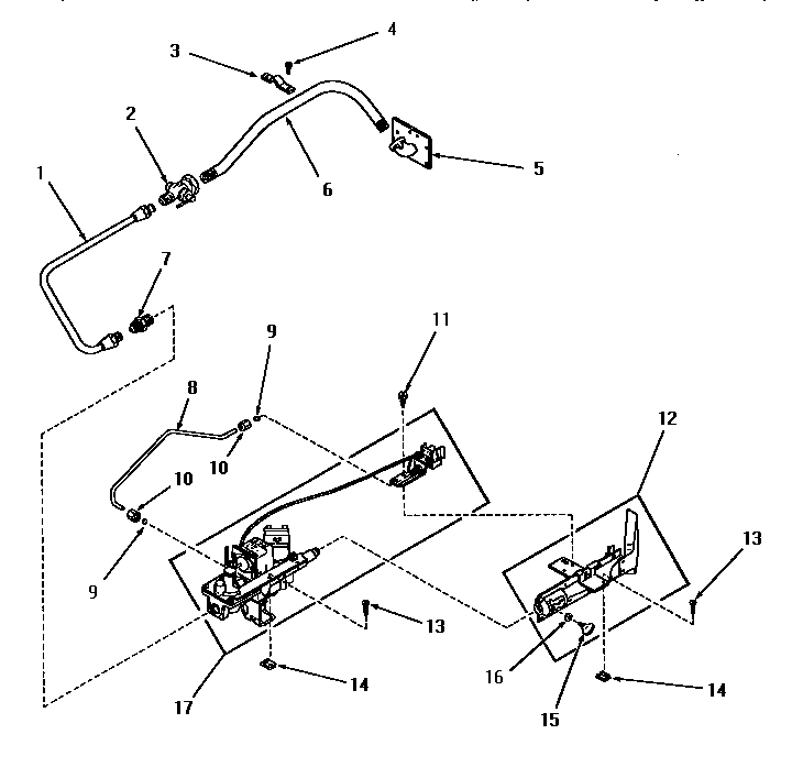
DG3021 01 – “M“ MODEL–STANDING PILOT BURNER