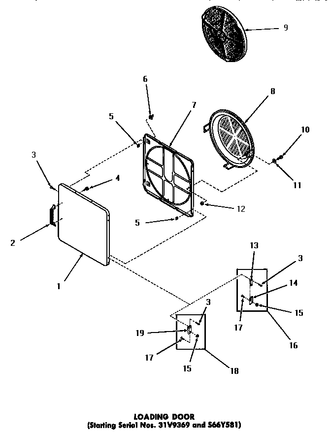
DG3240 18 – LOADING DOORadmin2025-04-26T09:33:11+00:00DG3240 18 – LOADING DOOR ProductsPositionProduct1MAY 52489H1MAY 52489A1MAY 52489C1MAY 52489W2MAY 540683MAY 528644MAY 521505MAY 528656MAY 546617MAY 546658MAY 547319MAY 5300210MAY 2468811MAY Q627512MAY 5256613MAY Y005394414MAY Y005394515MAY 5123617MAY 2264918SEE NOTE GROUND WIRE, GREEN