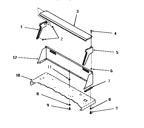
DG3291 09 – CONTROL HOODadmin2025-04-26T09:34:14+00:00DG3291 09 – CONTROL HOOD ProductsPositionProduct1MAY 233672MAY 234093MAY 529214MAY 252325MAY 233686MAY 245227MAY 230288MAY 204939WP90767 Whirlpool Screw10SEE NOTE GROUND WIRE, GREEN11MAY 2342512MAY 53446W12MAY 53446H12MAY 53446C12MAY 53446A