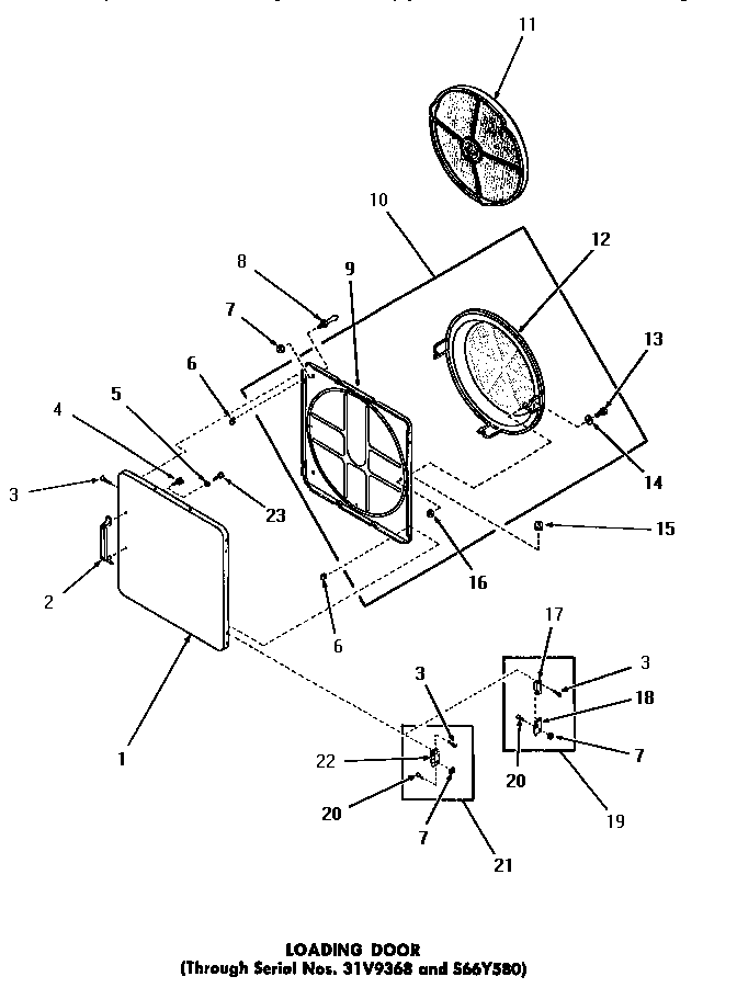
DG3680 17 – LOADING DOORadmin2025-04-26T09:36:09+00:00DG3680 17 – LOADING DOOR ProductsPositionProduct1MAY 52489W1MAY 52489H1MAY 52489C1MAY 52489A2MAY 540683MAY 528644MAY 521505MAY Y202786MAY 528657MAY 512368MAY 519929MAY 5473010MAY 5473811MAY 5300212MAY 5473113MAY 2468814MAY Q627515MAY 5185816MAY 5256617MAY Y005394418MAY Y005394520MAY 2264921SEE NOTE GROUND WIRE, GREEN22MAY 7001423MAY 22024