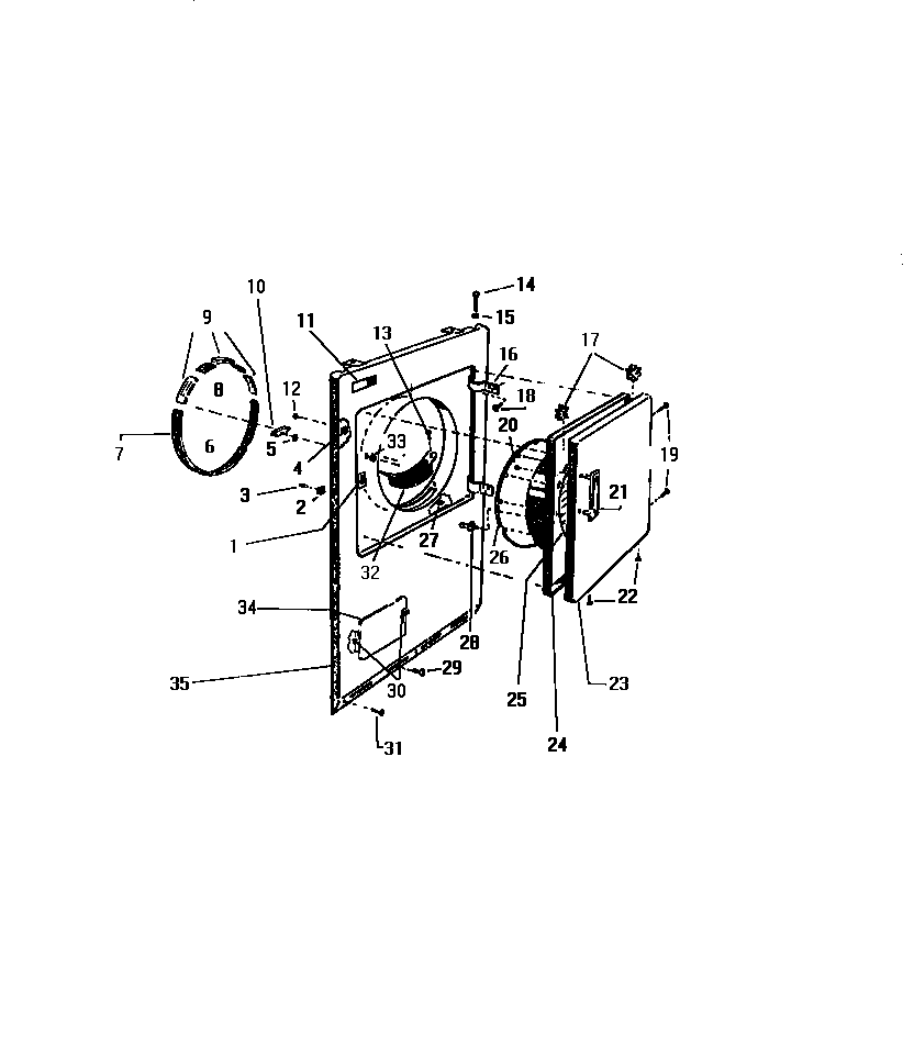
DG500EXD1 03 – FRONT PANEL, DOORadmin2025-04-26T08:53:01+00:00DG500EXD1 03 – FRONT PANEL, DOOR ProductsPositionProduct1WCI Q5045512WCI 14663143WCI Q5024825WCI Q4090046WCI Q151427WCI Q1428888WCI Q151419GUIDE KIT10START SWITCH11WCI Q60444212SCREW (4)14WCI Q5502115WCI Q50015516WCI Q9465117WCI Q4012018WCI Q50043320WCI Q50395221WCI Q15132622WCI Q41100423PANEL OUTER DOOR, ALMD24PANEL INNER DOOR, ALMD25SHIELD26WCI Q16770127WCI Q50025528WCI Q50455229WCI Q40580230SUPPORT31WCI Q50168732WCI Q16854133WCI Q50145034WCI Q18271135PANEL FRONT, 1-2 MODELS, ALMOND