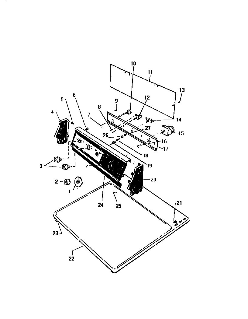
DG500EXH4 02 – CONSOLE, CONTROLS, TOP PANELadmin2025-04-26T08:53:30+00:00DG500EXH4 02 – CONSOLE, CONTROLS, TOP PANEL ProductsPositionProduct1WCI Q6176413KNOB TIMER4WCI Q6167315SPEEDNUT (8)6WCI Q5048017SCREW9SCREW (4)10WCI G61763311WCI Q61674112WCI Q15291313SCREW (4)14START SWITCH15WCI Q16860416SCREW (4)17WCI Q61671118WCI Q6679319WCI Q62123120WCI Q61673221WCI Q50306522WCI Q62124823SPRING CATCH24WCI Q61685125WCI Q50453326WCI Q50145027WCI Q409004