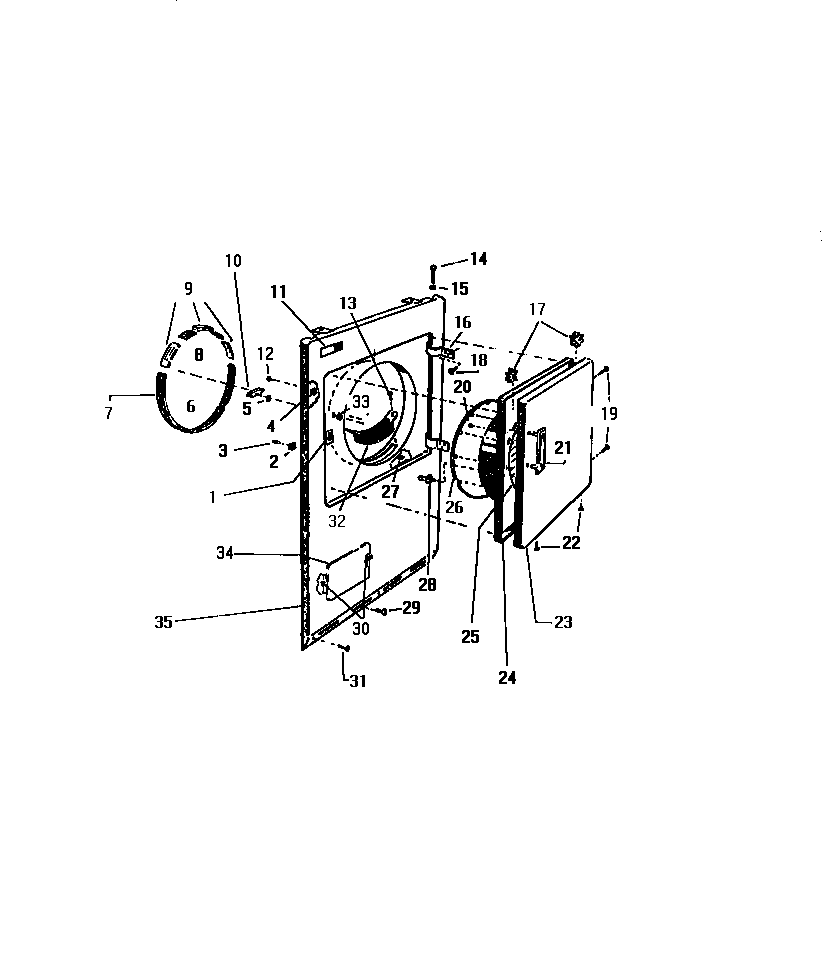
DG500EXV4 03 – FRONT PANEL, DOOR