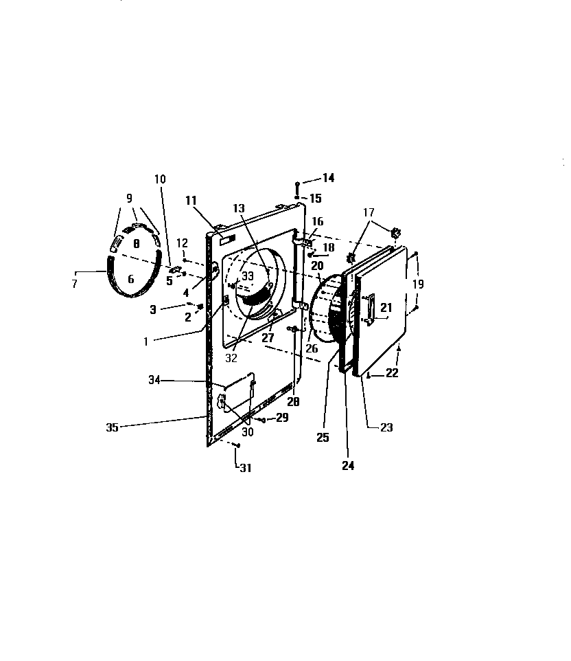
DG500EXW4 03 – FRONT PANEL, DOOR