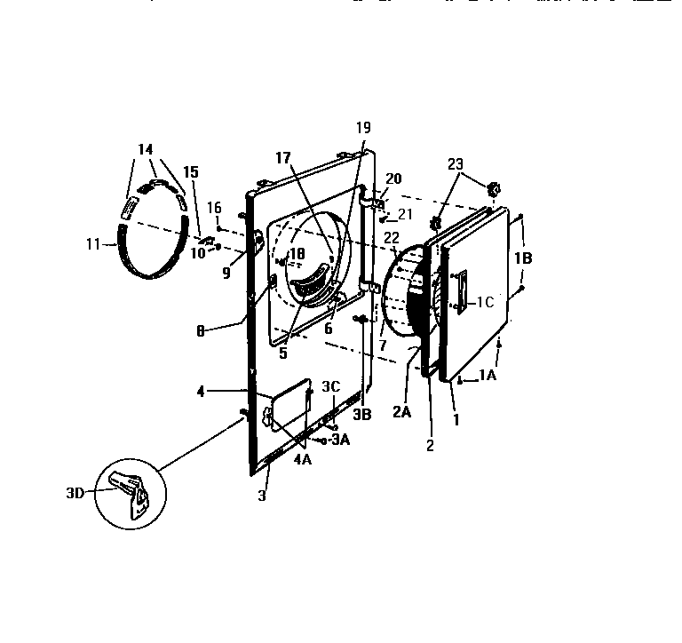
DG500JXH1 03 – FRONT PANEL, DOORadmin2025-04-26T08:53:19+00:00DG500JXH1 03 – FRONT PANEL, DOOR ProductsPositionProduct*56402WCI Q15141*56401WCI Q151421PANEL OUTER DOOR, WHEAT1CWCI Q6227912ASHIELD2PANEL INNER DOOR, WHEAT3BWCI Q5045523CWCI Q5007173DCLIP (4)3PANEL FRONT, WHEAT3AWCI Q4058024ASUPPORT4ACCESS DOOR, WHEAT5WCI Q6326216WCI Q5002657WCI Q1677038WCI Q5045519WCI Q50025510WCI Q40900411WCI Q14288814GUIDE KIT15WCI Q62242216SCREW (4)17WCI Q40310318WCI Q50145019FRAME LINT TRAP20WCI Q60730121WCI Q50477322WCI Q50395223WCI Q631591