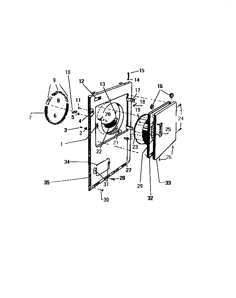
DG600EXD4 03 – FRONT PANEL, DOORadmin2025-04-26T08:53:45+00:00DG600EXD4 03 – FRONT PANEL, DOOR ProductsPositionProduct1WCI Q5045512WCI 14663143WCI Q5024825WCI Q4090046WCI Q151427WCI Q1428888WCI Q151419GUIDE KIT10WCI Q18471211SCREW (4)12WCI Q60444214WCI Q50015515WCI Q5502116WCI Q63159117WCI Q9465118WCI Q50043319WCI Q50395220WCI Q50145021WCI Q50025522WCI Q16854123WCI Q16770125WCI Q15132626WCI Q41100427WCI Q50455228WCI Q40580229SHIELD30WCI Q50168731SUPPORT32PANEL INNER DOOR, ALMD33PANEL OUTER DOOR, ALMD34WCI Q18271135PANEL FRONT, 1-2 MODELS, ALMOND