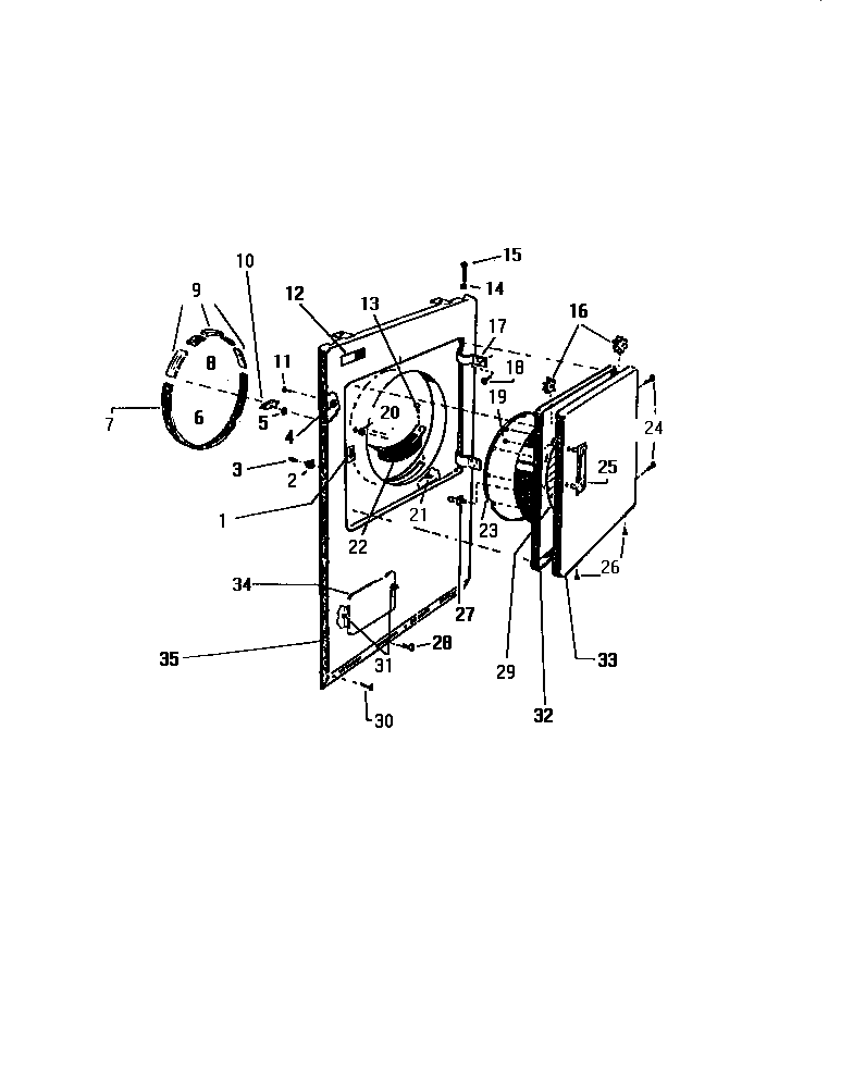
DG600EXV2 03 – FRONT PANEL, DOORadmin2025-04-26T08:53:27+00:00DG600EXV2 03 – FRONT PANEL, DOOR ProductsPositionProduct1WCI Q5045512WCI 14663143WCI Q5024825WCI Q4090046WCI Q151427WCI Q1428888WCI Q151419GUIDE KIT10START SWITCH11SCREW (4)12WCI Q60444214WCI Q50015515WCI Q5502116WCI Q4012017WCI Q9465118WCI Q50043319WCI Q50395220WCI Q50145021WCI Q50025522WCI Q16854123WCI Q16770125WCI Q15132626WCI Q41100427WCI Q50455228WCI Q40580229SHIELD30WCI Q50168731SUPPORT32PANEL INNER DOOR, FR AV33PANEL OUTER DOOR, FR AV34ACCESS DOOR35WCI Q171858