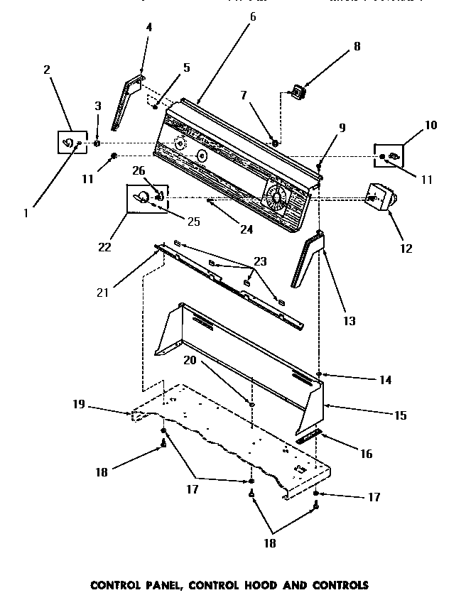
DG6090 08 – CONTROL PANEL, CONTROL HOOD & CONTROLS

DG6090 08 – CONTROL PANEL, CONTROL HOOD & CONTROLS