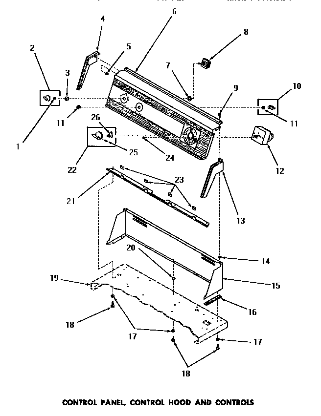
DG6091 08 – CONTROL PANEL, CONTROL HOOD & CONTROLSadmin2025-04-26T09:35:23+00:00DG6091 08 – CONTROL PANEL, CONTROL HOOD & CONTROLS ProductsPositionProduct1MAY 233922MAY 234023MAY 242054MAY 251245MAY 251266MAY Y00539627MAY 911768MAY 533809MAY 2523210MAY 5376811MAY 5294712MAY 5216713MAY 2512314MAY 2452215MAY 53446A15MAY 53446W15MAY 53446C15MAY 53446H16MAY 2302817MAY 2049318WP90767 Whirlpool Screw19SEE NOTE GROUND WIRE, GREEN20MAY 2342521MAY 5291222MAY 2485823MAY 2485924MAY 7021225MAY 2528526MAY 24857