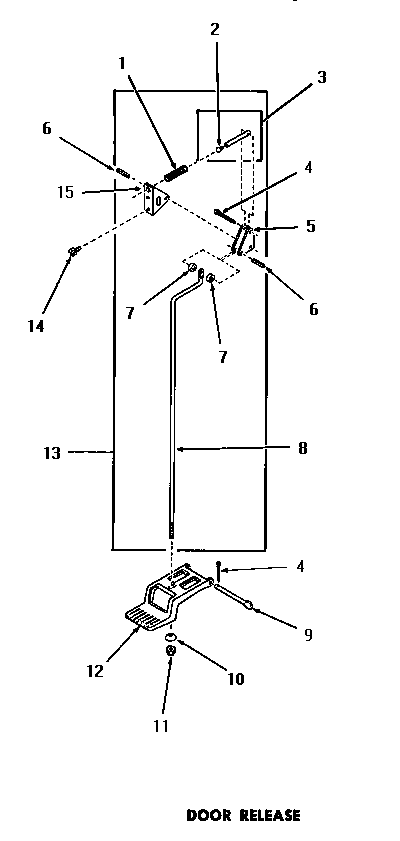
DG6181 12 – DOOR RELEASEadmin2025-04-26T09:34:46+00:00DG6181 12 – DOOR RELEASE ProductsPositionProduct1MAY 510652MAY 517863MAY 518414MAY 025785MAY 510416MAY 511617MAY 511218MAY 518379MAY 5104510MAY 5104611MAY 5127112MAY 5180213MAY 5184414MAY 5124615MAY 51052