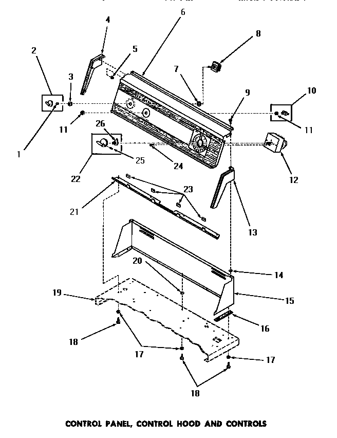
DG6241 08 – CONTROL PANEL, CONTROL HOOD & CONTROLS

DG6241 08 – CONTROL PANEL, CONTROL HOOD & CONTROLS