| *42658 | WCI 139944-000 |
| *42674 | TOUCH-UP SPRAY PAINT, ALMOND (6 OZ) |
| *42657 | WCI 140369-000 |
| *42656 | WCI 140330-000 |
| *42655 | INSTALL INSTRUCTION |
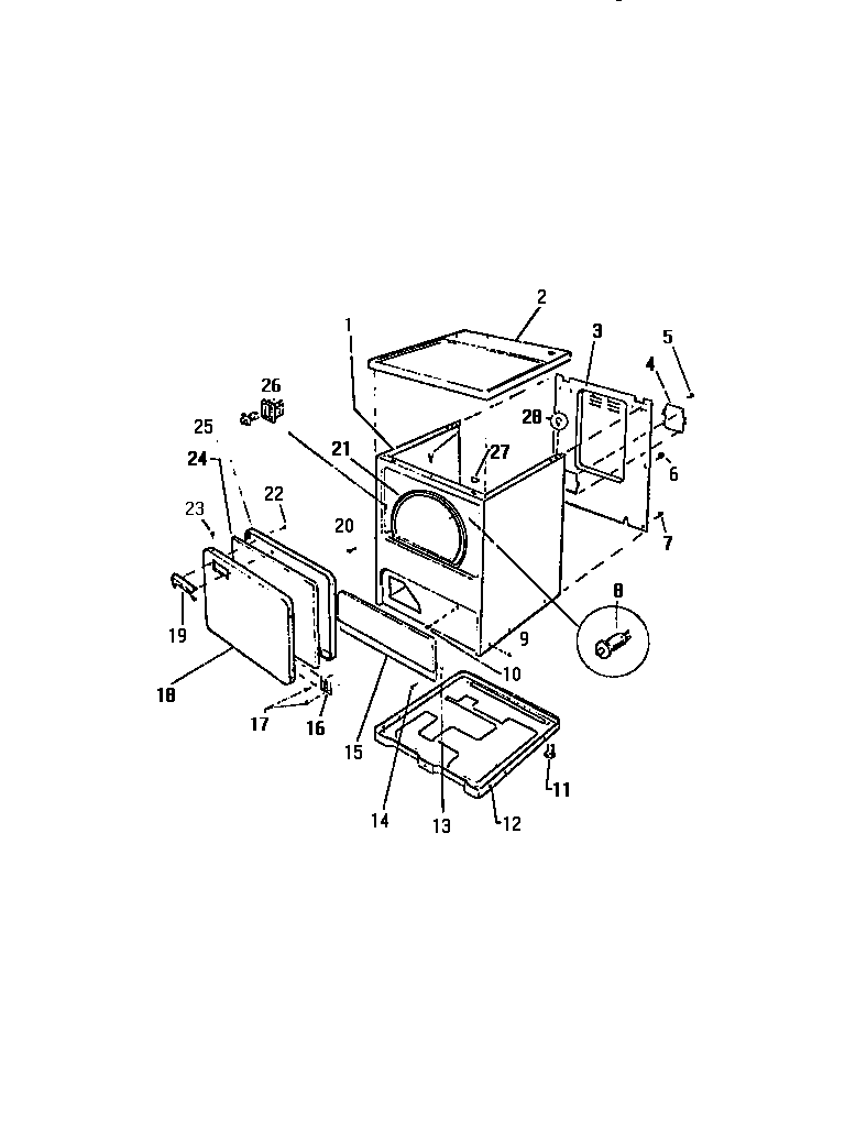
| 1 | WCI F134920-339 |
| 2 | TOP PANEL, ALMOND |
| 3 | WCI F139218-526 |
| 4 | ACCESS PLATE TERM. BLOCK |
| 5 | 5303015671 Frigidaire Bracket Termination Screw |
| 8 | DOOR SWITCH |
| 9 | 131205500 Frigidaire Screw |
| 10 | SCREW (6) |
| 11 | WCI F137033-000 |
| 12 | WCI F140281-026 |
| 13 | WCI F133279-000 |
| 13A | SPEED NUT, ELECTRIC MODELS (2) |
| 14 | WCI F066904-000 |
| 15 | ACCESS PANEL, ALMOND |
| 16 | WCI F078319-000 |
| 18 | WCI F137847-039 |
| 19 | WCI F078673-200 |
| 20 | 216858001 Frigidaire Refrigerator Screw |
| 21 | WCI F133271-000 |
| 22 | WCI F136470-000 |
| 23 | SCREW (3) |
| 24 | WCI F132413-000 |
| 25 | WCI F137873-028 |
| 26 | 5366021400 Frigidaire Door Latch & Metal Strike |
| 27 | WCI F130448-000 |
| 28 | WCI F001345-000 |