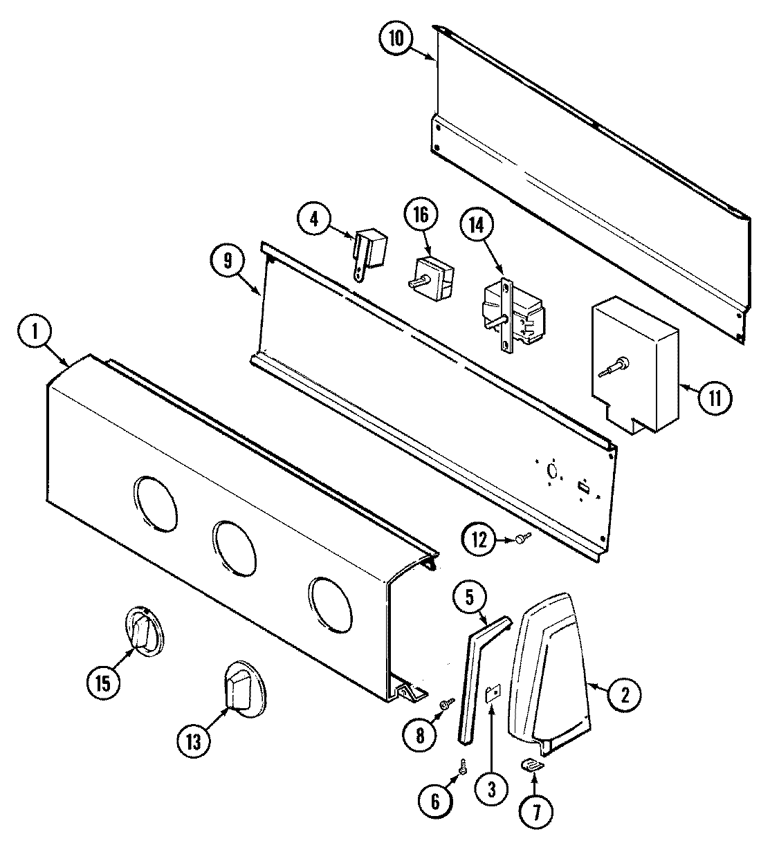
DGN204A 02 – CONTROL PANELadmin2025-04-26T09:38:10+00:00DGN204A 02 – CONTROL PANEL ProductsPositionProduct1MAY 310010232MAY 35-24872MAY 35-24883MAY 25-77024MAY 53-16395MAY 53-02775MAY 53-02786MAY 25-77607MAY 25-78518MAY 25-76499MAY 310011289MAY 53-16769MAY 53-250410MAY 35-268811MAY 53-181612MAY 3100111913MAY 53-263714MAY 53-034414MAY 3100112915MAY 35-424416MAY 3100119016WP90767 Whirlpool Screw16MAY 53-034617MAY 3100100817MAY 3100103517MAY 16002081