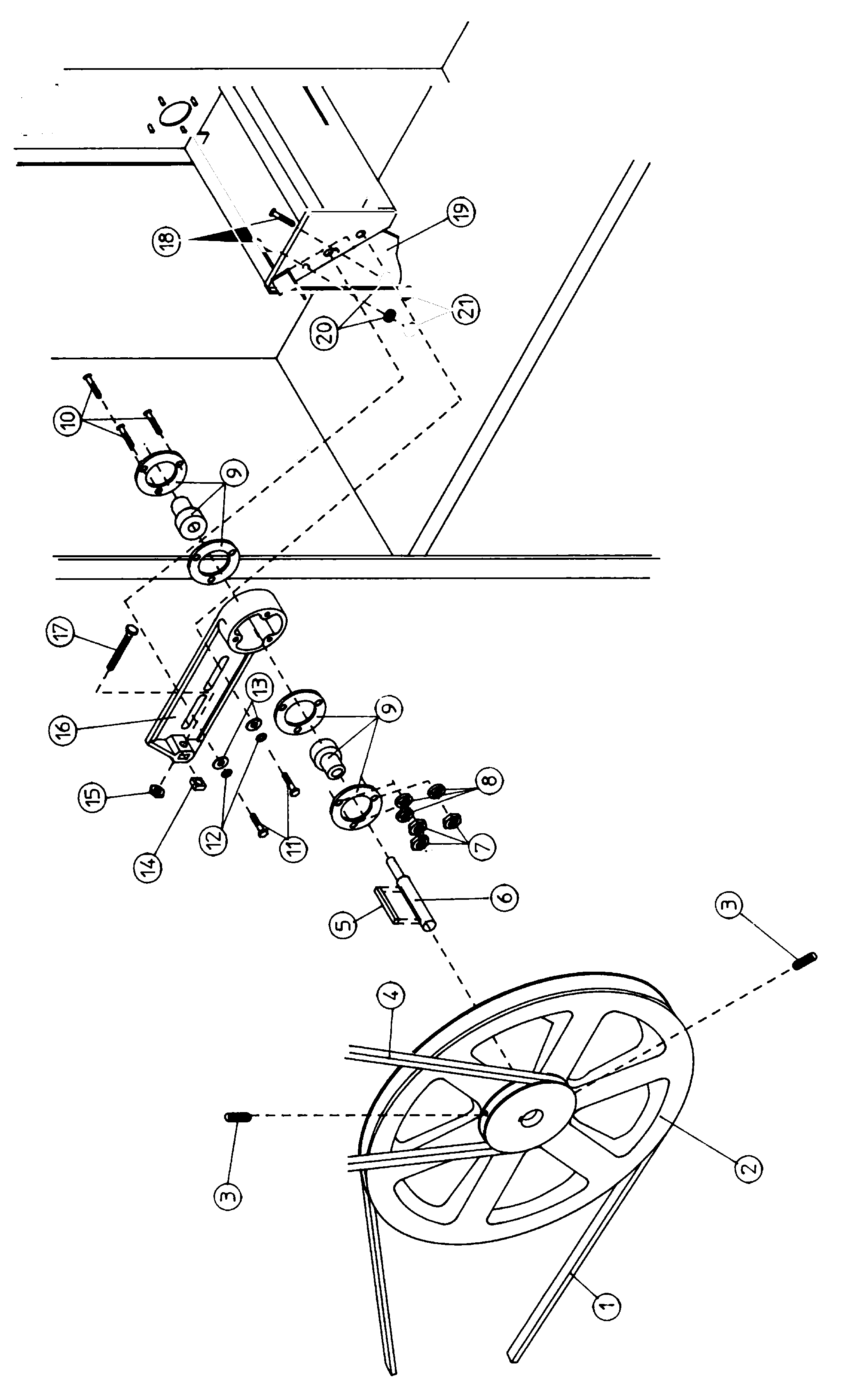
DGS30PC1 13 – IDLER BEARING ASSEMBLY
Products
| Position | Product |
|---|---|
| 000 | NOT REQUIRED PART OR SEE NOTE FUSE (NOT REQUIRED) |
| 001 | MAY A100115 |
| 002 | MAY A101129 |
| 003 | MAY A154301 |
| 004 | MAY A100111 |
| 005 | MAY A100705 |
| 006 | MAY A301850 |
| 009 | MAY A100214 |
| 010 | MAY A150521 |
| 011 | MAY A150617 |
| 012 | MAY A153005 |
| 013 | MAY A153004 |
| 014 | MAY A152020 |
| 015 | MAY A152004 |
| 016 | MAY A801008 |
| 016 | MAY A100406 |
| 017 | MAY A150509 |
| 018 | MAY A150111 |
| 019 | MAY A311403 |
| 020 | MAY A153007 |
| 021 | MAY A152002 |