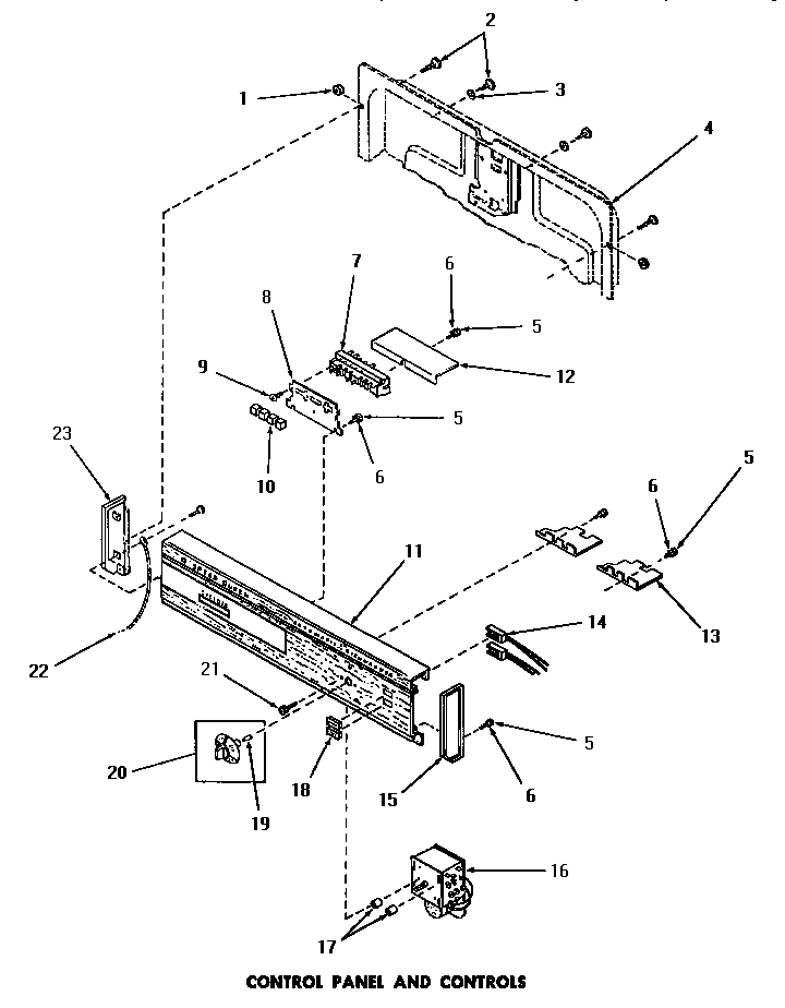
DL5600 03 – CONTROL PANEL & CONTROLSadmin2025-04-26T08:56:23+00:00DL5600 03 – CONTROL PANEL & CONTROLS ProductsPositionProductORDER GRAPHICS PANEL FROM THE SOURCE WHERE THE DRYER WAS PURCHASED. INCLUDE THECOMPLETE MODEL AND SERIAL NUMBERS WITH ORDER.1MAY M1101342MAY 650223MAY 211475MAY 517786MAY Y202787MAY M1101388MAY M1101299MAY 5178210MAY M11012611MAY M11000112MAY M11012813MAY M11012714MAY M11013715MAY M11012316MAY M11012517MAY M11013618MAY M11013319MAY M11020220MAY M11012121MAY M11014622SEE NOTE GROUND WIRE, GREEN23MAY M110122