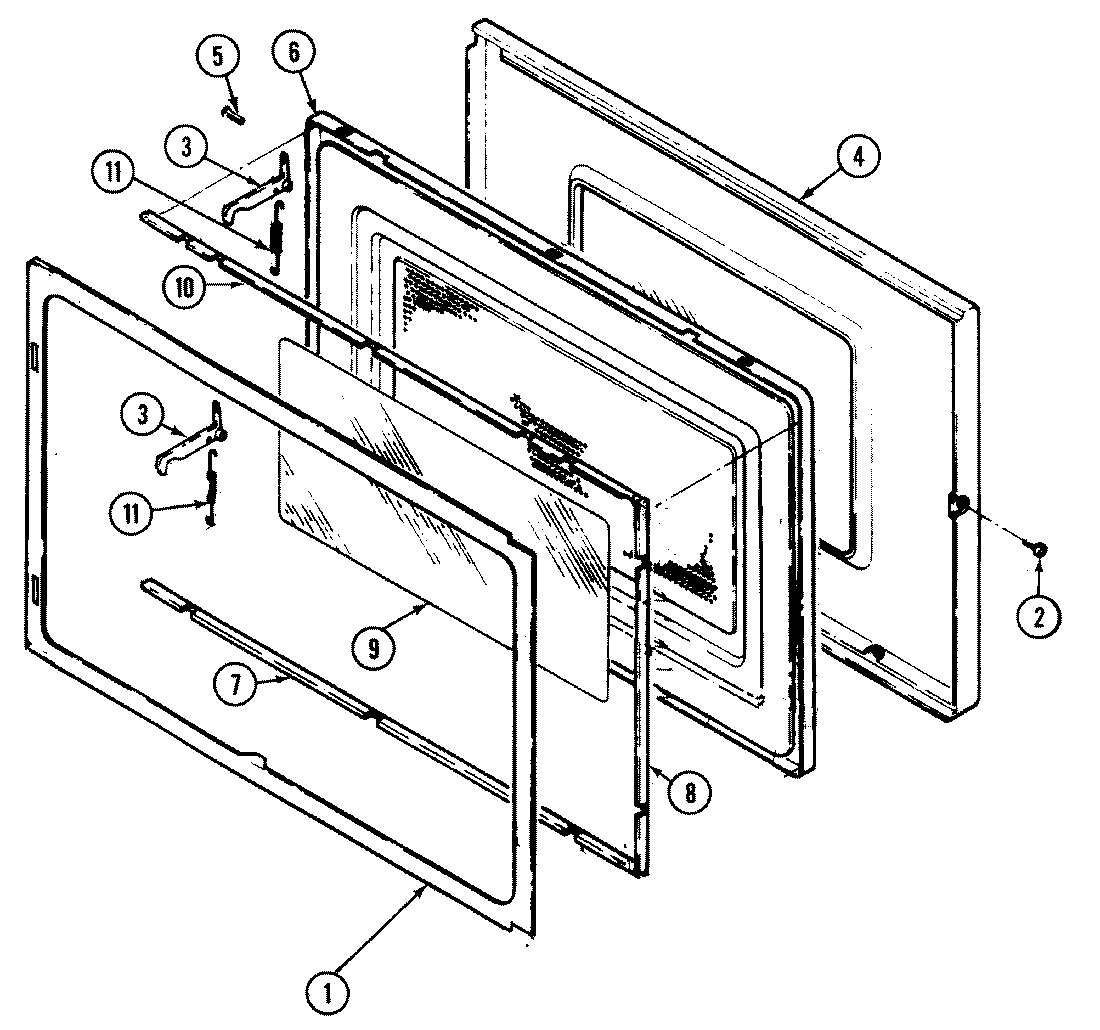
DM15H-14B-N 03 – DOORadmin2025-04-26T08:56:39+00:00DM15H-14B-N 03 – DOOR ProductsPositionProduct1MAY 021001412MAY Y030200873MAY 021900624MAY 031200714MAY 020301564MAY 040214644MAY 021002624MAY 022201064MAY Y020301575MAY Y030700406MAY 040216526MAY 023000627MAY Y021201628MAY Y021201609MAY 0222010310MAY Y0212016111MAY 0318003711MAY 02010051