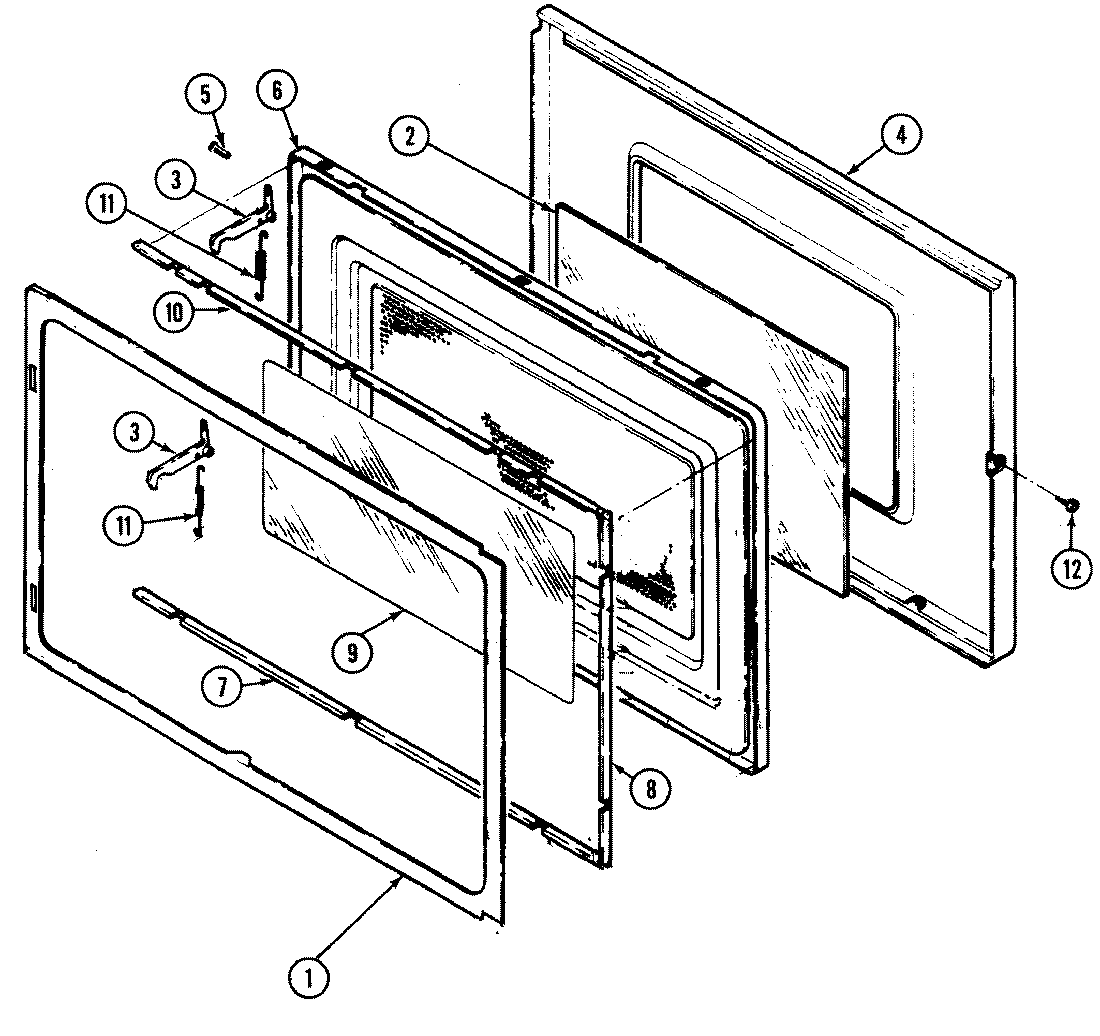
DM15H-14B-R 03 – DOORadmin2025-04-26T08:56:42+00:00DM15H-14B-R 03 – DOOR ProductsPositionProduct1MAY 021001412MAY 020301562MAY 022201062MAY Y020301573MAY 021900624MAY 021002624MAY 040214645MAY Y030700406MAY 040216526MAY 023000627MAY Y021201628MAY Y021201609MAY 0222010310MAY Y0212016111MAY 0318003212MAY 0302010612MAY Y0302008712MAY 03120071