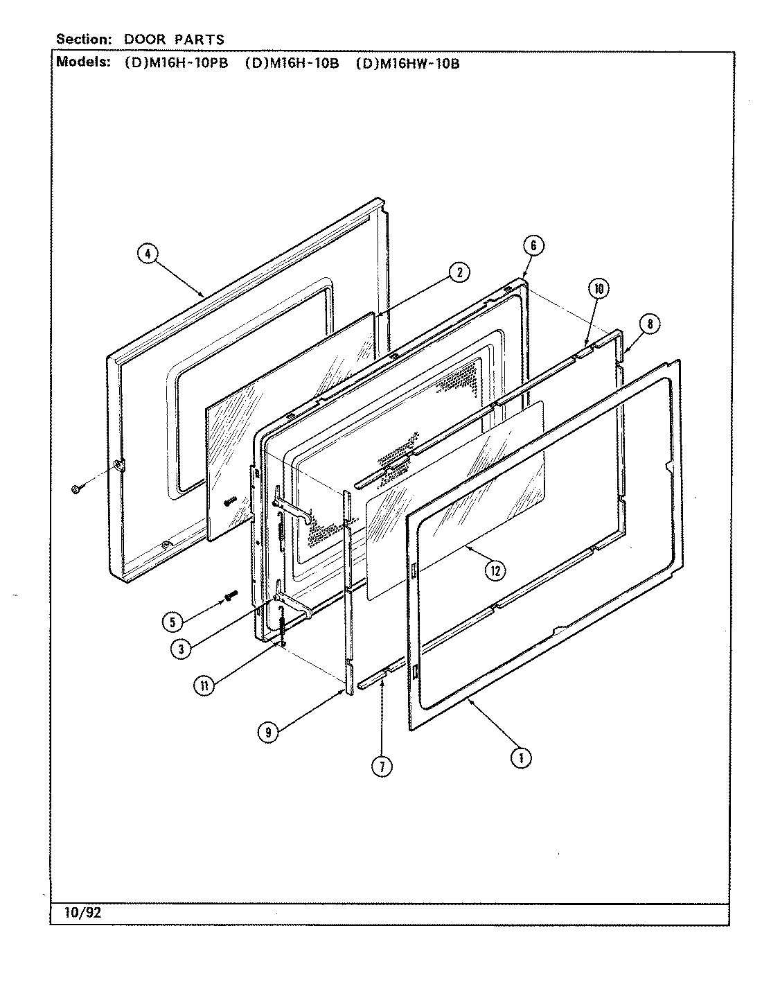
DM16HW-10B 03 – DOORadmin2025-04-26T08:56:28+00:00DM16HW-10B 03 – DOOR ProductsPositionProduct1MAY 021001493MAY 021900624MAY 040215205MAY Y030700406MAY 040215037MAY Y021201629MAY Y0212016010MAY Y0212016111MAY 0318003212MAY 0312007112NOT REQUIRED PART OR SEE NOTE FUSE (NOT REQUIRED)