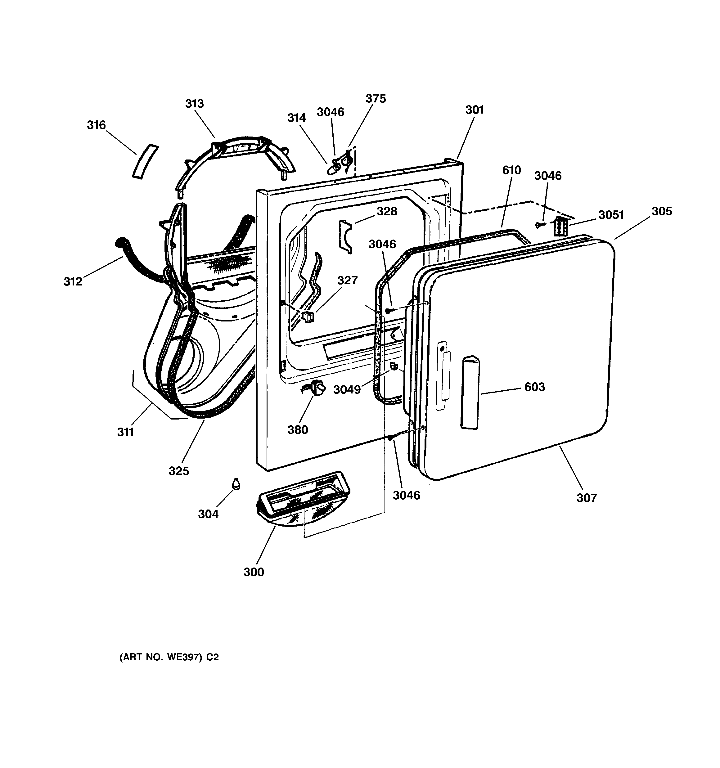
DNXR473GW3AA FRONT PANEL & DOORadmin2025-04-26T08:36:44+00:00DNXR473GW3AA FRONT PANEL & DOOR ProductsPositionProduct301WE01X29060 GE Heat Shield301GEN WE20M255304WE2M188 GE Front Stabilizing Legs305WE49X22295 GE Front Panel Assembly307GEN WE10M0103311WE14X25080 GE Dryer Lint Filter Trap Assembly312FELT TRAP DUCT313WE3M26 GE Washer Dryer Front Drum Bearing316GEN WE01M0333325WE1M825 GE Washer 39 Inch Dryer Gasket Seal327WE1M1011 GE Washer Dryer Door Latch328GEN WE1M449380WE4M415 GE Washer Door Switch603WE01X20580 GE Washer Dryer Door Handle610WE9M13 GE Door Gasket3046WE2M196 GE Screw #83049WE1X1192 GE Dryer Door Strike3051WE1M1033 GE Hinge