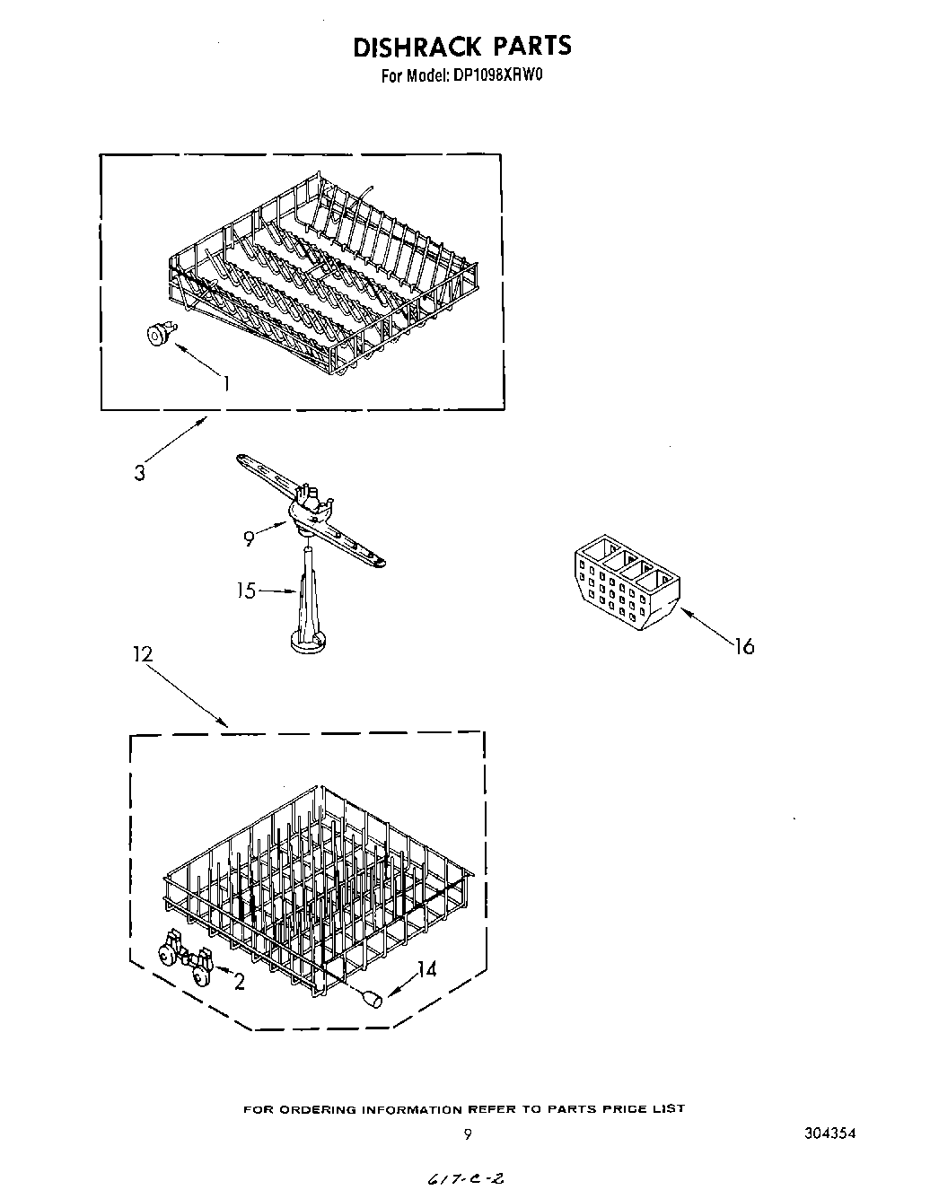
DP1098XRW0 06 – DISKRACK