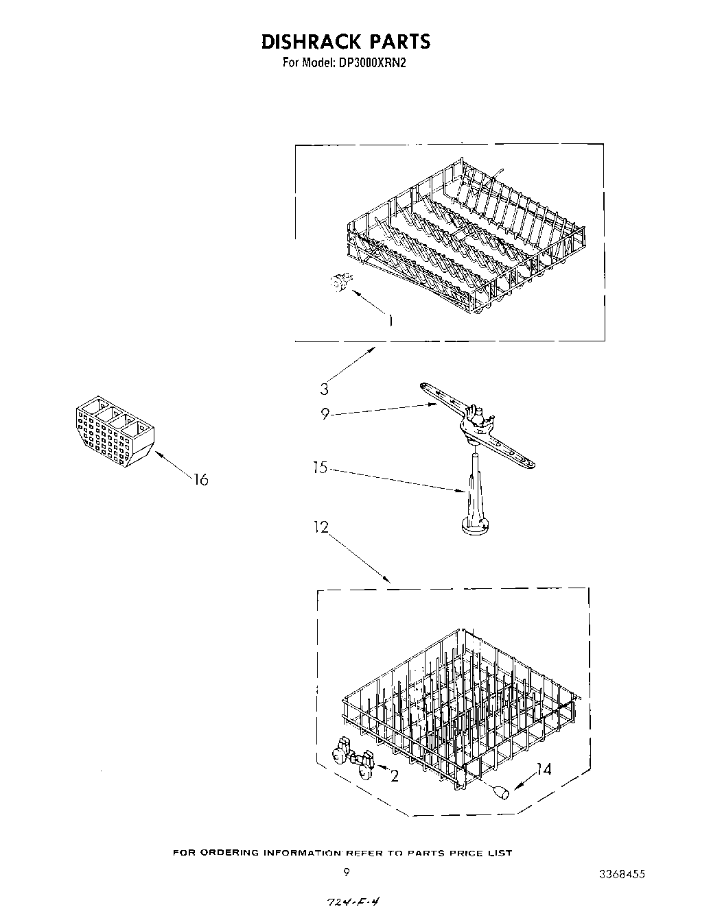
DP3000XRN2 06 – DISHRACK