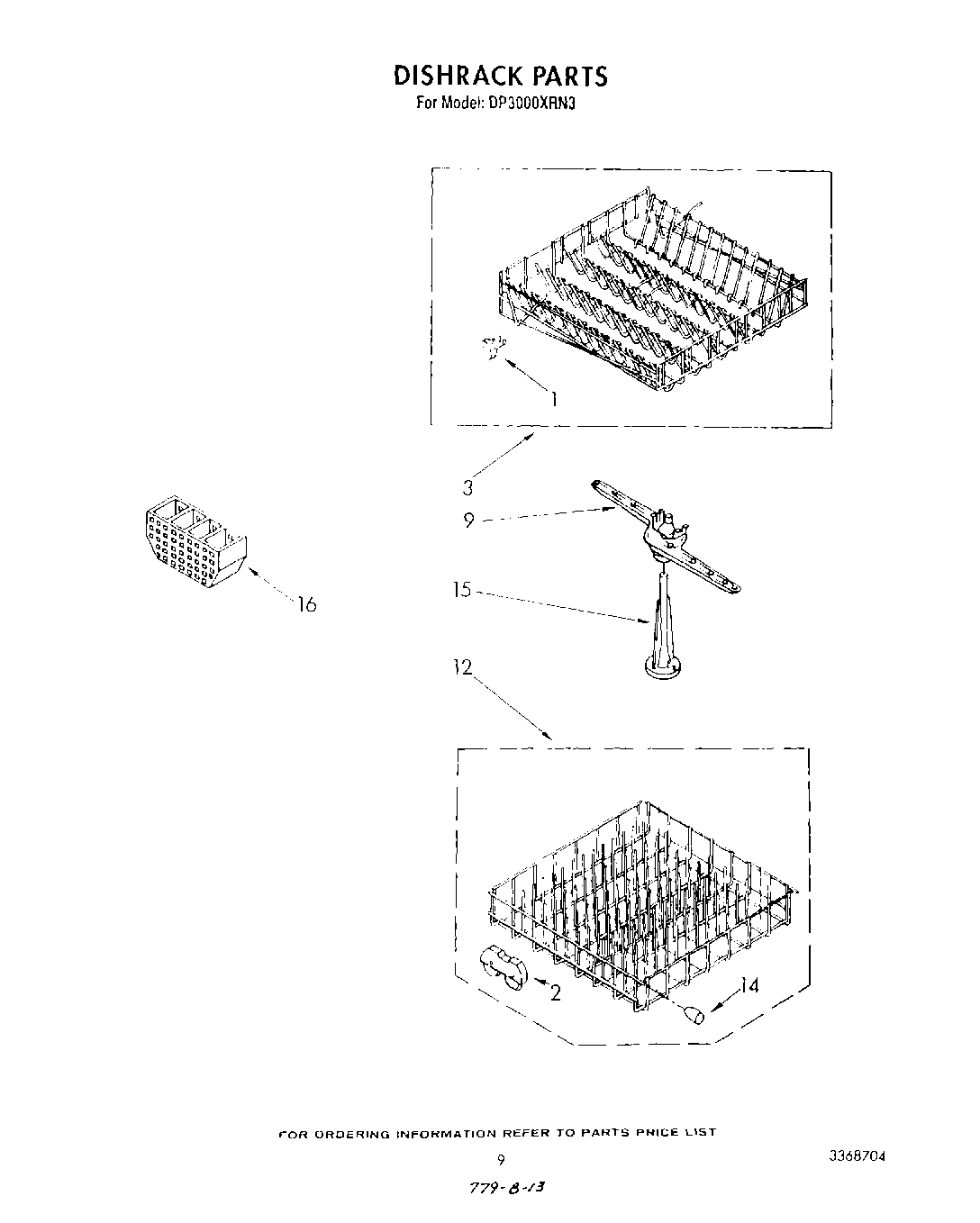
DP3000XRN3 06 – DISHRACK