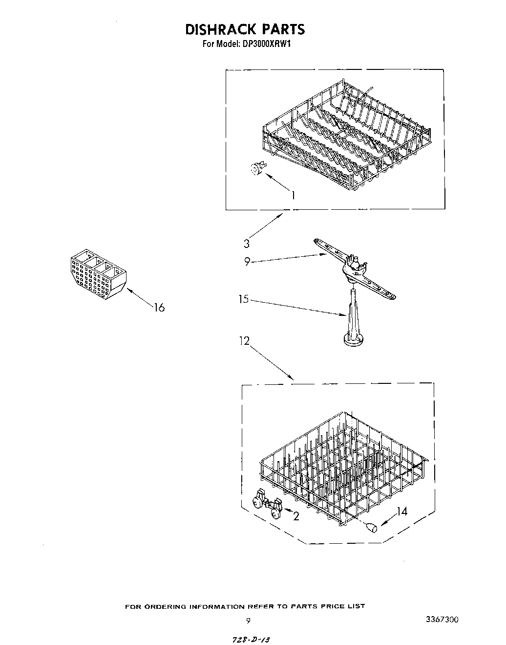
DP3000XRW1 06 – DISHRACK