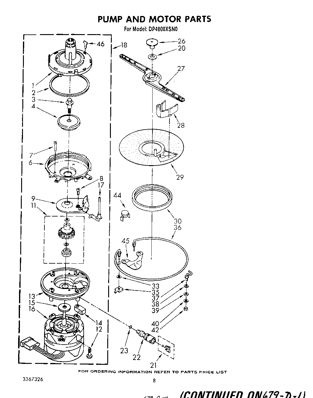
DP4800XSN0 05 – PUMP AND MOTOR