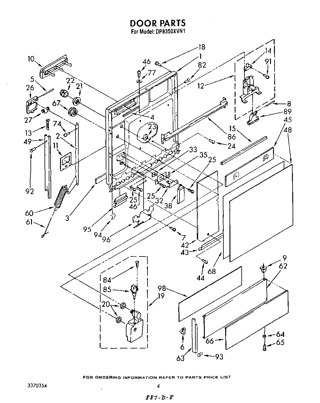
DP8350XVN1 03 – DOOR