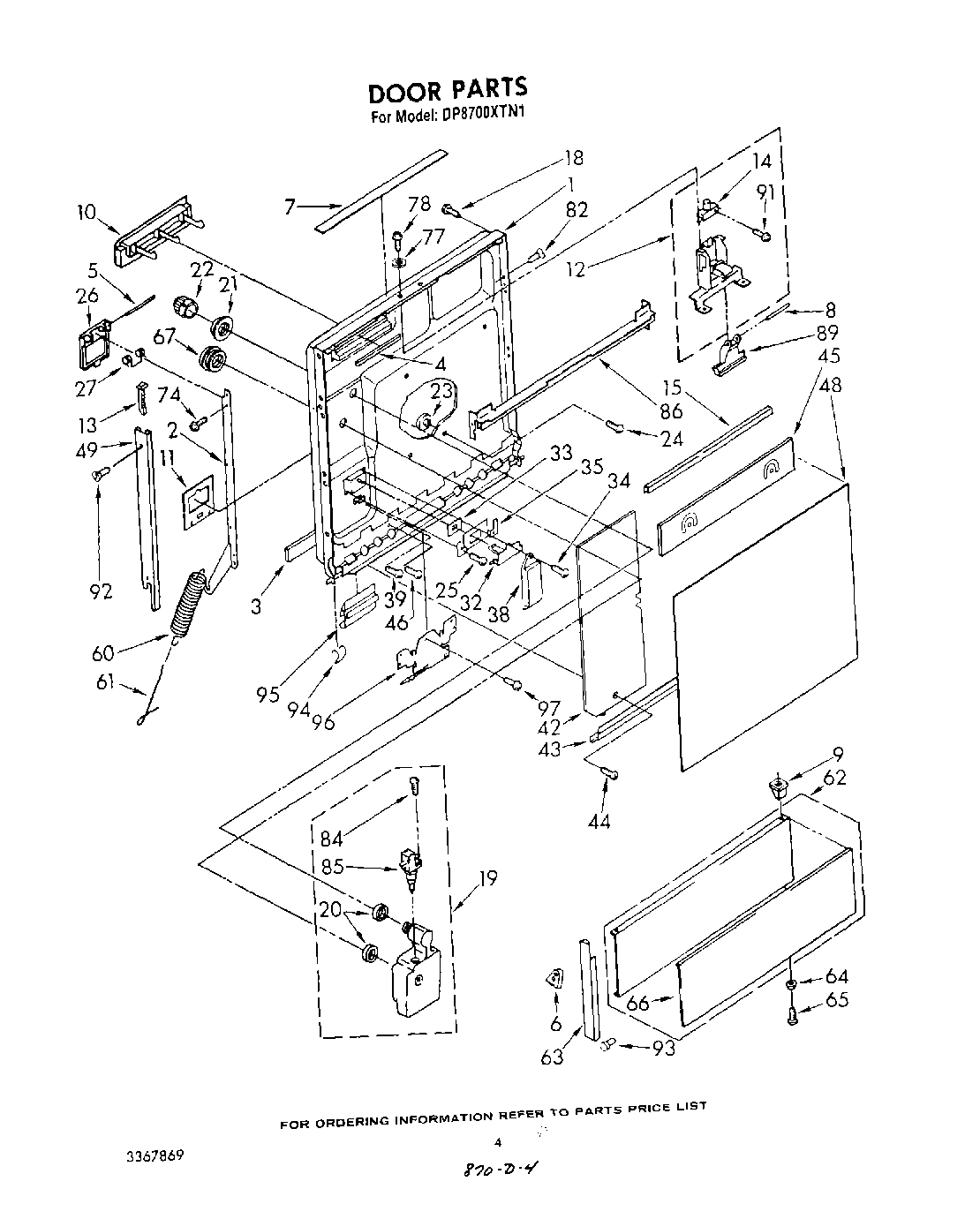
DP8700XTN1 03 – DOOR