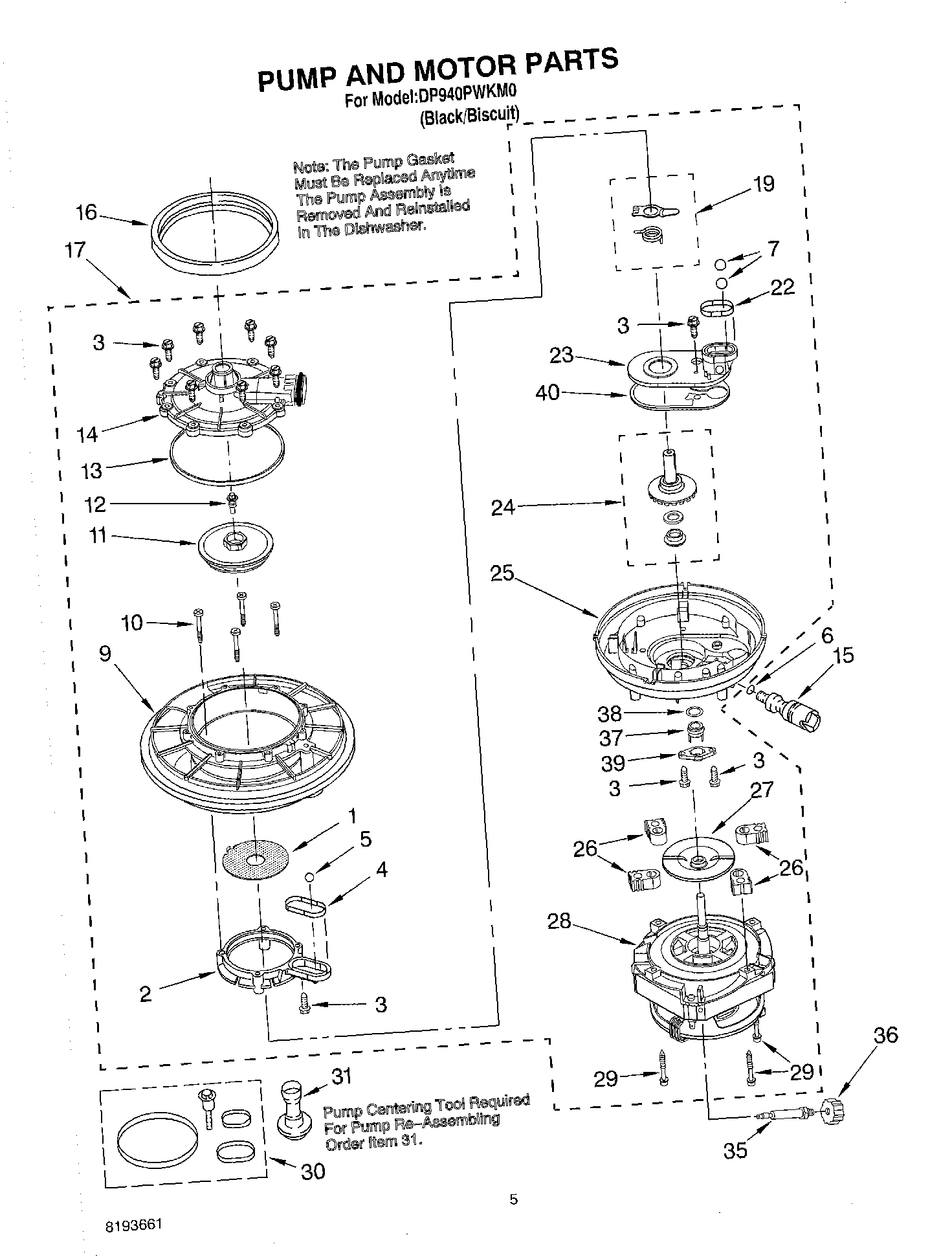
DP940PWKM0 04 – PUMP & MOTOR