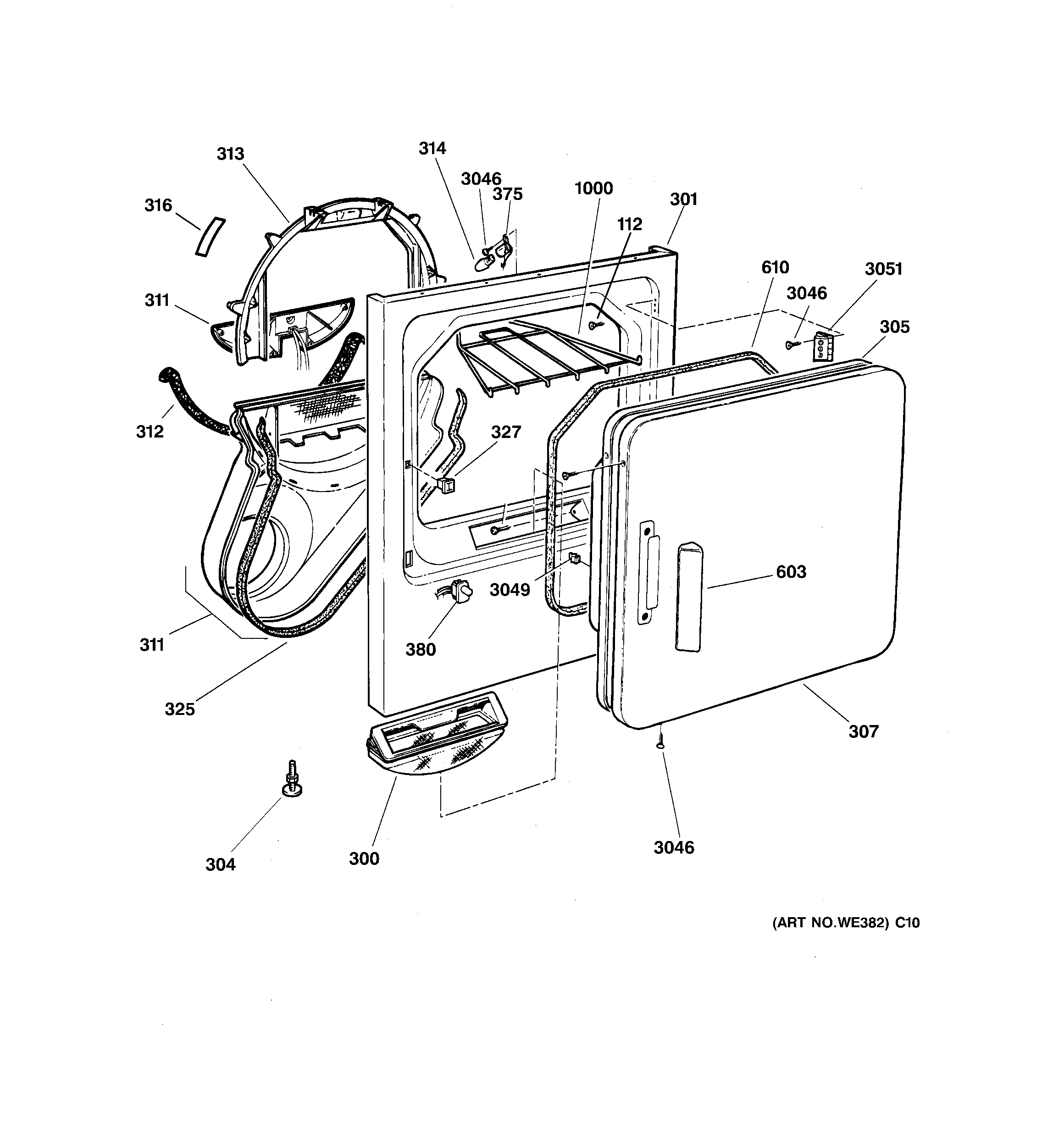
DPSF495GV0AA FRONT PANEL & DOOR