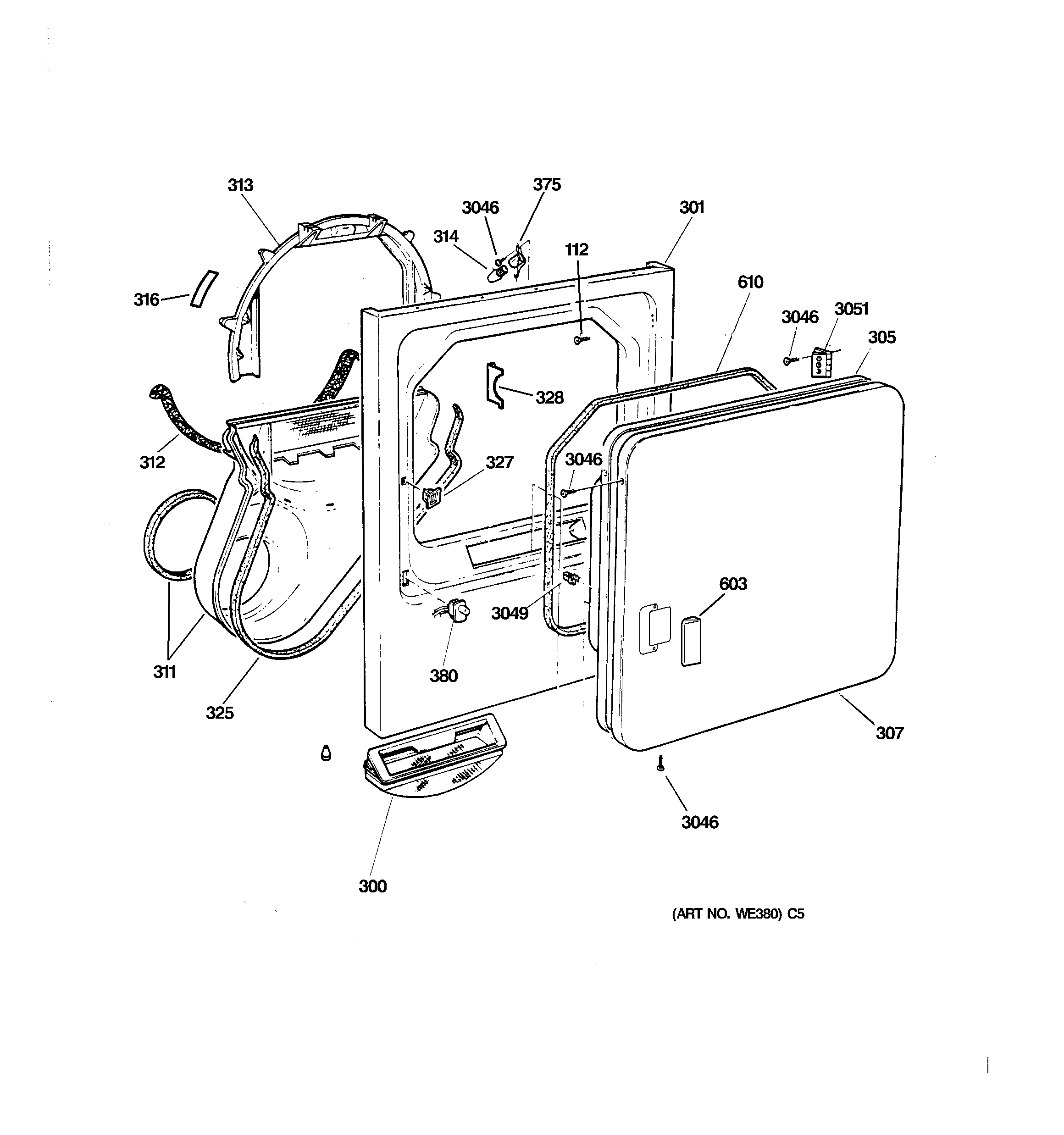
DPSR483EA1WW FRONT PANEL & DOORadmin2025-04-26T08:36:59+00:00DPSR483EA1WW FRONT PANEL & DOOR ProductsPositionProduct112WR01X21159 GE Button Plug300WE18X25100 GE Dryer Lint Screen Filter305WE49X22295 GE Front Panel Assembly307PANEL DOOR OUTER WH307GEN WE10M0096311WE14X25080 GE Dryer Lint Filter Trap Assembly312FELT TRAP DUCT313WE3M26 GE Washer Dryer Front Drum Bearing316GEN WE01M0333325WE1M825 GE Washer 39 Inch Dryer Gasket Seal327WE1M1011 GE Washer Dryer Door Latch328GEN WE1M449375GEN WE05M0005380WE4M415 GE Washer Door Switch603WE01X20419 GE Washer Dryer White Door Handle610WE9M13 GE Door Gasket3046WE2M196 GE Screw #83049WE1X1192 GE Dryer Door Strike3051WE1M1033 GE Hinge