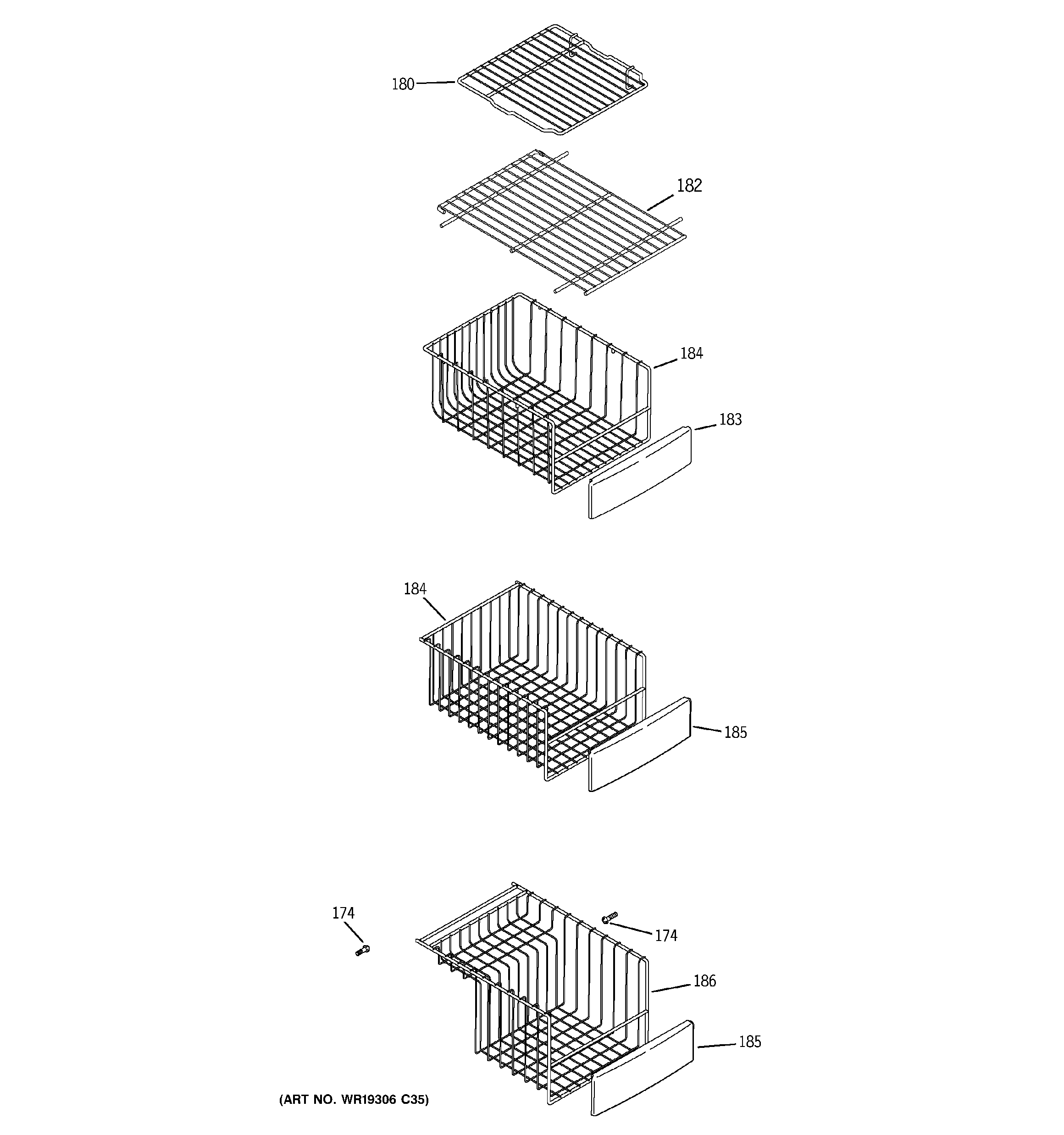
DSF26DHWAWW FREEZER SHELVESadmin2025-04-26T08:37:32+00:00DSF26DHWAWW FREEZER SHELVES ProductsPositionProduct174WR01X10447 GE Refrigerator SCR-8-18-AB-UFL180WR71X10965 GE Fixed Refrigerator Shelf182WR71X10703 GE Refrigerator Wire Shelf184WR21X10060 GE Refrigerator Wire Basket185WR12X10626 GE Refrigerator Handle186WR21X10061 GE Refrigerator Wire Basket