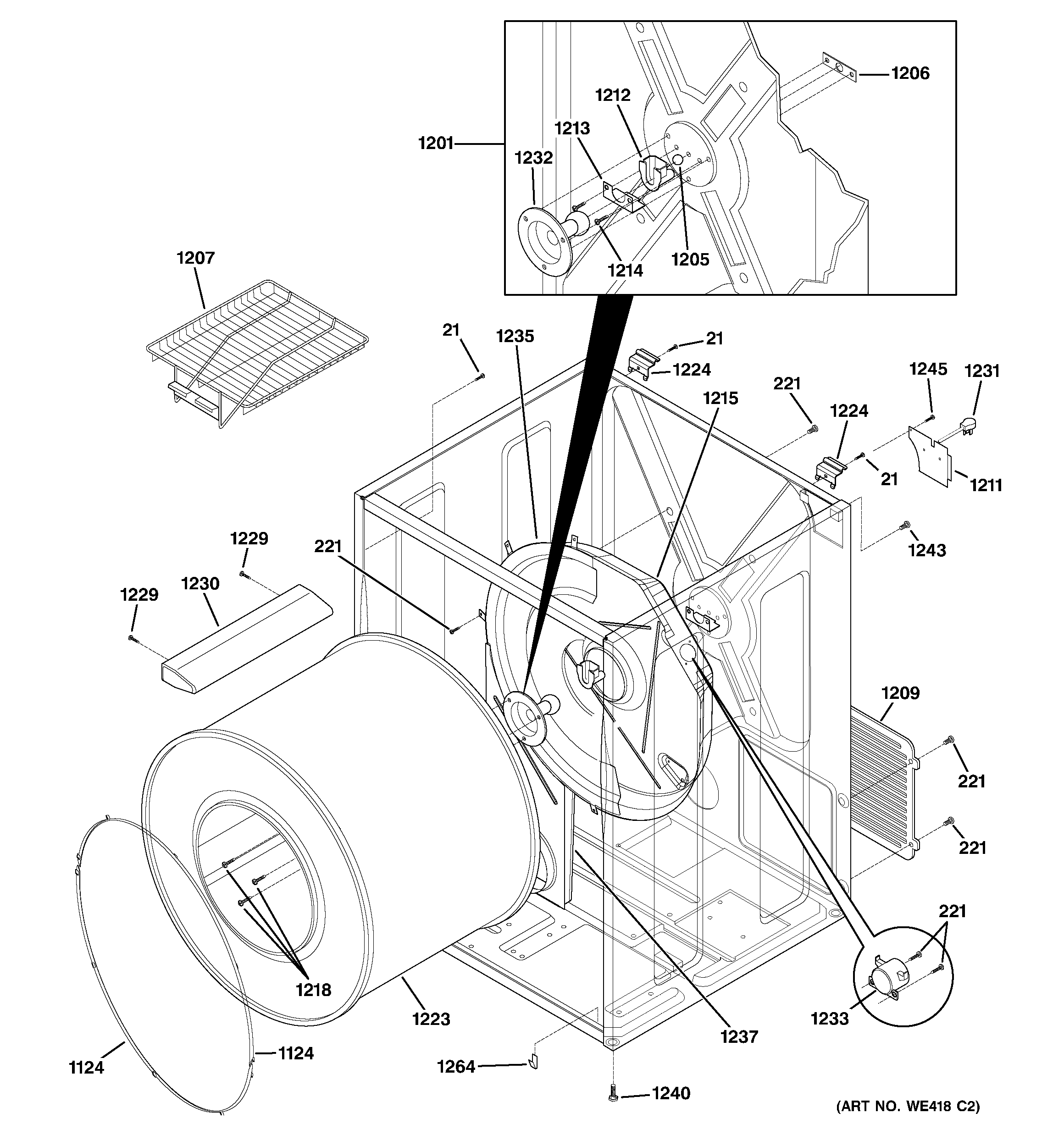
DSXH43GA3WW CABINET & DRUMadmin2025-04-26T08:37:46+00:00DSXH43GA3WW CABINET & DRUM ProductsPositionProduct21SCREW PANEL TO EVAP221SCREW PAN HD.8-18ABX.3751124WE03X10007 GE Bearing1201WE25X10001 GE Rear Bearing Kit1205GEN WE01X11521206CLIP BALL1207GEN WE01X101741209PANEL-ACCESS1211GEN WE20X100041212GEN WE03X100021213BRACKET BEARING1214GEN WE02X100051215HEATER HOUSING - GAS1218SCREW 10-16 X.3751223GEN WE21X100131224GEN WE13X100051229GEN WE02X100071230GEN WE21X00691231GEN WE08X100441232WE13X10011 GE Washer Rear Bearing Shaft Support1233THERMOSTAT - SAFETY1235GEN WE01X101581237GEN WE14X100261240WR2X9485 GE Refrigerator Foot Adjustment1243GEN WE02X100571245WE02X10011 GE Screw1264CLIP CABINET BTM